LEMON Manuals: Even more car manuals for everyone: 1960-2025
Home >> Toyota >> 2009 >> Matrix Base, Automatic >> Repair and Diagnosis (Single Page) >> Brakes >> Traction Control >> Brake Control/Dynamic Control System >> BRAKE ACTUATOR (w/o VSC) >> Installation
April 5, 2026: LEMON Manuals is launched! Read the announcement.

BRAKE ACTUATOR (w/o VSC): Installation

  1. INSTALL BRAKE ACTUATOR 
    1. Install the brake actuator to the brake actuator bracket assembly with the 3 bolts.

      Torque: 5.4 N*m (55 kgf*cm, 48 in.*lbf) 

      NOTE:
      • Do not remove the hole plugs of a new brake actuator before connecting the 6 brake lines because the brake actuator is filled with brake fluid.
      • Do not carry the brake actuator assembly by the connector.
      • Tighten the 3 bolts in the order shown in the illustration.
        Fig 1: Tightening Order Of Brake Actuator Mounting Bolts
        G06014037Courtesy of © TOYOTA, LICENSE AGREEMENT TMS1002
  2. INSTALL BRAKE ACTUATOR WITH BRACKET 
    1. Install the brake actuator with bracket to the body with the 2 bolts and nut.

      Torque: 19 N*m (194 kgf*cm, 14 ft.*lbf) 

      NOTE:
      • Do not damage the brake lines or wire harness.
      • Tighten the nut and 2 bolts in the order shown in the illustration.
        Fig 2: Tightening Order Of Nut And Bolts For Installing Brake Actuator With Bracket
        G06014038Courtesy of © TOYOTA, LICENSE AGREEMENT TMS1002
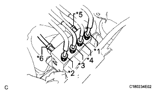
    2. Temporarily tighten each brake line to the correct position of the brake actuator assembly with bracket as shown in the illustration.

      HINT:

      • *1: To front wheel cylinder RH
      • *2: To front wheel cylinder LH
      • *3: To rear wheel cylinder RH
      • *4: To rear wheel cylinder LH
      • *5: From 1st master cylinder
      • *6: From 2nd master cylinder
        Fig 3: Identifying Brake Lines
        G06035092Courtesy of © TOYOTA, LICENSE AGREEMENT TMS1002
    3. Using a union nut wrench (10 mm), fully tighten each brake line.

      Torque: without a union nut wrench 

      15 N*m (155 kgf*cm, 11 ft.*lbf) 

      with a union nut wrench 

      14 N*m (143 kgf*cm, 10 ft.*lbf) 

      NOTE:
      • Use a torque wrench with a fulcrum length of 250 mm (9.84 in.).
      • This torque value is effective when the union nut wrench is parallel to the torque wrench.
        Fig 4: Tightening Brake Line
        G06014040Courtesy of © TOYOTA, LICENSE AGREEMENT TMS1002
    4. Install the brake line clamp with brake line with the bolt.

      Torque: 5.4 N*m (55 kgf*cm, 48 in.*lbf) 

      Fig 5: Locating Brake Line Clamp Bolt
      G06014032Courtesy of © TOYOTA, LICENSE AGREEMENT TMS1002
    5. Connect the actuator connector and lock the lock lever.
      NOTE: Make sure that the connector is locked securely.
      Fig 6: Locating Actuator Connector
      G06035100Courtesy of © TOYOTA, LICENSE AGREEMENT TMS1002
  3. INSTALL RADIATOR RESERVE TANK ASSEMBLY 
    1. Install the radiator reserve tank assembly with the 3 bolts.

      Torque: 7.0 N*m (71 kgf*cm, 62 in.*lbf) 

      Fig 7: Locating Radiator Reserve Tank Assembly Mounting Bolts
      G06035086Courtesy of © TOYOTA, LICENSE AGREEMENT TMS1002
  4. INSTALL WINDSHIELD WASHER JAR ASSEMBLY 
    1. Install the windshield washer jar assembly and clamp to the body with the 2 bolts.

      Torque: 5.5 N*m (56 kgf*cm, 49 in.*lbf) 

      Fig 8: Locating Windshield Washer Jar Assembly Bolt And Clamp
      G06014007Courtesy of © TOYOTA, LICENSE AGREEMENT TMS1002
    2. Install the bolt and clamp connect the washer hoses and motor connectors.

      Torque: 5.5 N*m (56 kgf*cm, 49 in.*lbf) 

  5. INSTALL FRONT BUMPER ASSEMBLY 

    HINT:

    Refer to the instructions for Installation of the front bumper assembly (See INSTALLATION ).

  6. INSTALL GENERATOR ASSEMBLY (for 2ZR-FE) 

    HINT:

    Refer to the instructions for Installation of the generator assembly (See INSTALLATION ).

    Fig 9: Locating Washer Hoses And Motor Connectors Bolt And Clamp
    G06035067Courtesy of © TOYOTA, LICENSE AGREEMENT TMS1002
  7. INSTALL GENERATOR ASSEMBLY (for 2AZ-FE) 

    HINT:

    Refer to the instructions for Installation of the generator assembly (See INSTALLATION ).

  8. CONNECT CABLE TO NEGATIVE BATTERY TERMINAL 
  9. REMOVE CENTER COWL TOP VENTILATOR LOUVER  (See BRAKE FLUID )
  10. FILL UP BRAKE FLUID RESERVOIR  (See BRAKE FLUID )
  11. BLEED BRAKE MASTER CYLINDER  (See BLEEDING )
  12. BLEED BRAKE LINE  (See BLEEDING )
  13. INSPECT BRAKE FLUID LEVEL  (See BRAKE FLUID )
  14. INSPECT FOR FLUID LEAK 
  15. INSTALL CENTER COWL TOP VENTILATOR LOUVER  (See BLEEDING )
  16. INSPECT ACTUATOR USING TECHSTREAM 

    HINT:

    (See ON-VEHICLE INSPECTION  )

  17. PREPARATION FOR FOG LIGHT AIMING (w/ Fog Light)  (See DISASSEMBLY )
  18. INSPECT FOG LIGHT AIMING (w/ Fog Light)  (See ADJUSTMENT )
  19. ADJUST FOG LIGHT AIMING (w/ Fog Light)  (See REASSEMBLY )