LEMON Manuals: Even more car manuals for everyone: 1960-2025
Home >> Acura >> 2002 >> 3.2CL Base >> Repair and Diagnosis >> Body & Frame >> Power Windows >> Removal & Installation >> Window Regulator Assembly >> Removal & Installation
April 5, 2026: LEMON Manuals is launched! Read the announcement.

Removal & Installation

  1. Remove the door panel and plastic cover. See DOOR PANEL  .
  2. Carefully raise the glass (A) until you can see the bolts (B), then remove them. Carefully pull the glass out through the window slot. Take care not to drop the glass inside the door. See Fig 1 .
  3. Disconnect and detach the connector (A) and harness clip (B) from the door. Remove the bolts (C) and (E), and loosen the bolts (D). Remove the regulator (F) through the hole in the door. See Fig 2 .
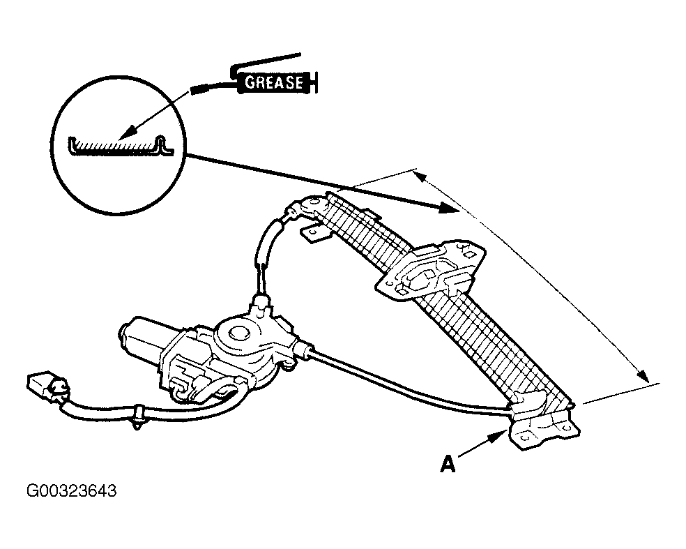
  4. Grease all the sliding surfaces of the regulator (A). See Fig 3 .
  5. Install in the reverse order of removal and note these items:
    • Ensure the connector is plugged in properly.
    • Raise and lower the glass to see if it moves freely without binding.
    • Ensure that there is no clearance between the glass and glass run channel when the glass is closed.
    • Adjust the position of the glass as necessary. See DOOR GLASS  in ADJUSTMENTS.
    • Check for water leaks.
Fig 1: Removing Door Glass
G00323635Courtesy of AMERICAN HONDA MOTOR CO., INC.
Fig 2: Removing Window Regulator
G00323639Courtesy of AMERICAN HONDA MOTOR CO., INC.
Fig 3: Greasing Sliding Surfaces Of The Regulator
G00323643Courtesy of AMERICAN HONDA MOTOR CO., INC.