LEMON Manuals: Even more car manuals for everyone: 1960-2025
Home >> Cadillac >> 1993 >> Allante >> Repair and Diagnosis (Single Page) >> Engine Performance >> Remove, Overhaul & Install >> Engine Controls - Removal, Overhaul & Installation >> Computerized Engine Controls >> Powertrain Control Module (Pcm) & Prom >> Removal
April 5, 2026: LEMON Manuals is launched! Read the announcement.

Powertrain Control Module (Pcm) & Prom: Removal

  1. Key "ON", enter diagnostics and record Transaxle Oil Life (from PS15).
  2. NOTE: Key must be "OFF" for a minimum of 30 seconds before disconnecting PCM connectors or battery voltage to allow TP Sensor/Idle Learned values, Transaxle Shift Adapt values, Transaxle Oil Life Index and Cruise Control Lash/Learn to be stored in the EEPROM. Failure to wait 30 seconds may result in EEPROM reset, Code P080 and Transaxle Oil Life Index being reset to 0.
  3. Turn key "OFF".
  4. Remove right hand hush panel.
  5. Remove screw mounting PCM and PCM bracket to body. See Fig 1 .
  6. Remove PCM connectors.
  7. Remove PROM cover. See Fig 2 .
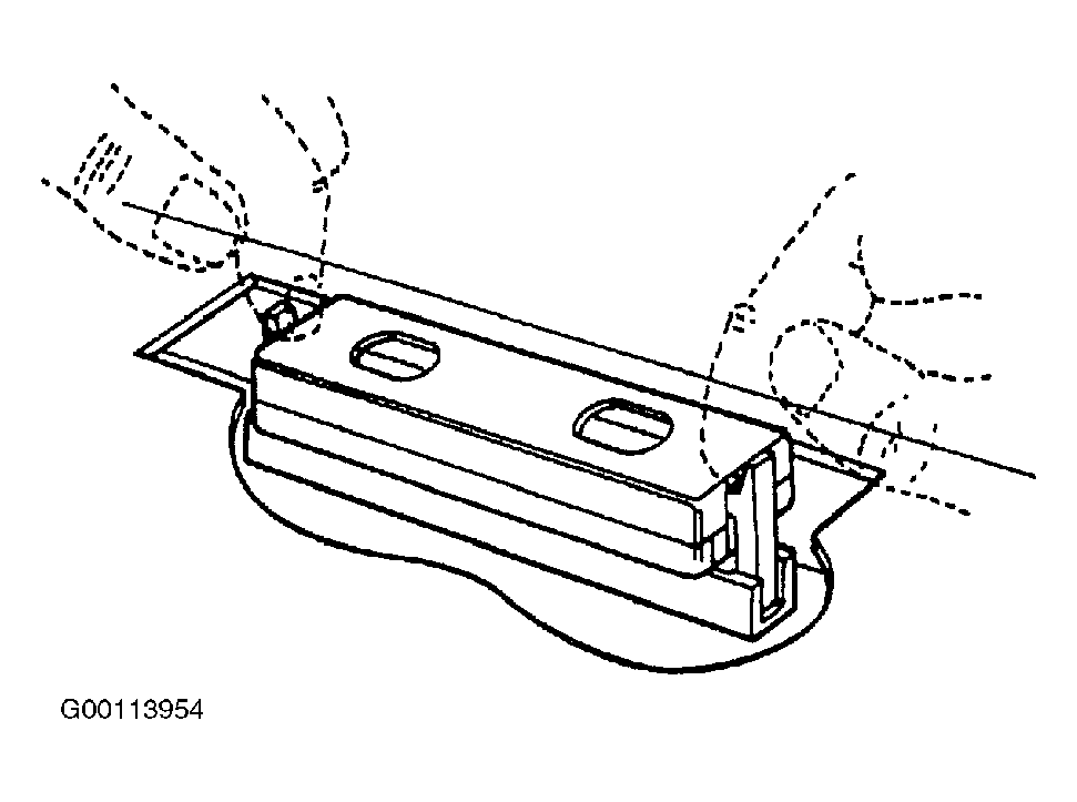
  8. NOTE: Use two fingers to push both retaining clips back away from the PROM at the same time. Grasp the PROM at both ends and lift up and out of the PROM connector. Do not open the PROM. Use of any other PROM removal method may cause damage to the PROM or PROM connector.
  9. Remove PROM See Fig 3 .
  10. Remove PCM mounting bracket and mounting clips.
Fig 1: Removing PCM
G00113953Courtesy of GENERAL MOTORS CORP.
Fig 2: Accessing PROM
G00113956Courtesy of GENERAL MOTORS CORP.
Fig 3: Removing PROM
G00113954Courtesy of GENERAL MOTORS CORP.