LEMON Manuals: Even more car manuals for everyone: 1960-2025
Home >> Dodge and Ram >> 1995 >> Grand Caravan Base >> Repair and Diagnosis >> Engine Performance >> System >> Engine Controls - Tests W/Codes - 2.5L >> Connector Identification
April 5, 2026: LEMON Manuals is launched! Read the announcement.

Connector Identification

CONNECTOR IDENTIFICATION DIRECTORY

Connector See
A/C Clutch Relay Fig 1
Auto Shutdown (ASD) Relay Fig 2 & Fig 3
Crankshaft Position Sensor Fig 4
Exhaust Gas Recirculation (EGR) Solenoid Fig 5
Engine Coolant Temperature (ECT) Sensor Fig 6
Evaporative Purge Solenoid Fig 7
Fuel Pump Fig 8
Fuel Pump Relay Fig 9 & Fig 10
Idle Air Control (IAC) Motor Fig 11
Manifold Absolute Pressure (MAP) Sensor Fig 12
02S Fig 13
Powertrain Control Module (PCM) Fig 19
Radiator Fan Relay Fig 14 & Fig 15
Torque Converter Clutch (TCC) Solenoid Fig 16
Throttle Position (TP) Sensor Fig 17
Transmission Temperature Sensor Fig 18
A/C CLUTCH RELAY CONNECTOR TERMINAL IDENTIFICATION

Terminal Wire Color Function
A Dark Blue/White Fused Ign. Sw. Output
B Red/Light Blue Fused Battery Voltage
C Dark Blue/Orange Relay Control
D Dark Blue/Black Relay Output
Fig 1: Identifying A/C Clutch Relay Connector Terminals (Caravan & Voyager)
G95J27978Courtesy of CHRYSLER CORP.
ASD RELAY CONNECTOR TERMINAL ID

Terminal Wire Color Function
A Dark Blue/White Fused Ign. Sw. Output
B Red/White Fused Battery Voltage
C Dark Blue/Yellow Relay Control
D Dark Green/Orange Relay Output
Fig 2: ASD Relay Connector Terminal ID - 1 Of 2 (Caravan & Voyager)
G95E27981Courtesy of CHRYSLER CORP.
Fig 3: ASD Relay Connector Terminal ID - 2 Of 2 (Caravan & Voyager)
G95F27982Courtesy of CHRYSLER CORP.
CRANKSHAFT POSITION SENSOR CONNECTOR TERMINAL ID

Terminal Wire Color Function
1 Orange 8-Volt Supply
2 Black/Light Blue Ground
3 Gray/Black Signal
Fig 4: Identifying Crankshaft Sensor Connector Terminals (Caravan & Voyager)
G93B76522Courtesy of CHRYSLER CORP.
EGR SOLENOID CONNECTOR TERMINAL IDENTIFICATION

Terminal Wire Color Function
1 Dark Blue/White Fused Ign. Sw. Output
2 Gray/Yellow Control
Fig 5: EGR Solenoid Connector Terminal ID (Caravan & Voyager)
G95A27987Courtesy of CHRYSLER CORP.
ENGINE COOLANT TEMPERATURE (ECT) SENSOR CONNECTOR TERMINAL ID

Terminal Wire Color Function
1 Tan/Black Signal
2 Black/Light Blue Ground
Fig 6: ECT Sensor Connector Terminal ID (Caravan & Voyager)
G93D76540Courtesy of CHRYSLER CORP.
EVAPORATIVE PURGE SOLENOID CONNECTOR TERMINAL ID

Terminal Wire Color Function
1 Dark Blue/White Fused Ign. Switch Output
2 Pink/Black Solenoid Control
Fig 7: Evaporative Purge Solenoid Connector Terminal ID (Caravan & Voyager)
G95B27988Courtesy of CHRYSLER CORP.
FUEL PUMP CONNECTOR TERMINAL IDENTIFICATION

Terminal Wire Color Function
1 Dark Green/Black Fuel Pump Relay Output
2 Dark Blue Sending Unit Feed
3 --- Not Used
4 Black Sending Unit Ground
5 Black Fuel Pump Ground
Fig 8: Fuel Pump Connector Terminal ID (Caravan & Voyager)
G95C27989Courtesy of CHRYSLER CORP.
FUEL PUMP RELAY CONNECTOR TERMINAL ID

Terminal Wire Color Function
A Dark Blue/White Fused Ign. Sw. Output
B Dark Green/White Fused Battery Voltage
C Dark Blue/Yellow ASD Relay Control
D Dark Green/Black Fuel Pump Relay Output
Fig 9: Fuel Pump Relay Connector Terminal ID - 1 Of 2 (Caravan & Voyager)
G95H27992Courtesy of CHRYSLER CORP.
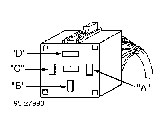
Fig 10: Fuel Pump Relay Connector Terminal ID - 2 Of 2 (Caravan & Voyager)
G95I27993Courtesy of CHRYSLER CORP.
IAC MOTOR CONNECTOR TERMINAL ID

Terminal Wire Color Function
1 Gray/Red IAC Driver No. 3
2 Yellow/Black IAC Driver No. 2
3 Brown/White IAC Driver No. 1
4 Violet/Black IAC Driver No. 4
Fig 11: IAC Motor Connector Terminal ID (Caravan & Voyager)
G95A27995Courtesy of CHRYSLER CORP.
MAP SENSOR CONNECTOR TERMINAL ID

Terminal Wire Color Function
1 Black/Light Blue Ground
2 Dark Green/Red Signal
3 Violet/White 5-Volt Supply
Fig 12: MAP Sensor Connector Terminal ID (Caravan & Voyager)
G95J28000Courtesy of CHRYSLER CORP.
O2S CONNECTOR TERMINAL ID

Terminal Wire Color Function
1 Black/Light Blue Sensor Ground
2 Black/Dark Green Signal
3 Black/Tan Heater Ground
4 Dark Green/Black ASD Relay Output
Fig 13: Identifying O2S Connector Terminals (Caravan & Voyager)
G95A28001Courtesy of CHRYSLER CORP.
LOW SPEED RADIATOR FAN RELAY CONNECTOR TERMINAL ID

Terminal Wire Color Function
A Dark Blue/White Fused Ign. Sw. Output
B Gray Fused Battery Voltage
C Dark Blue/Pink Low Speed Relay Control
D Dark Green Low Speed Relay Output
Fig 14: Low/High Speed Radiator Fan Relay Connector Terminal ID (Caravan & Voyager)
G95C28003Courtesy of CHRYSLER CORP.
HIGH SPEED RADIATOR FAN RELAY CONNECTOR TERMINAL ID

Terminal Wire Color Function
A Dark Blue/White Fused Ign. Sw. Output
B Red/Light Green Fused Battery Voltage
C Yellow High Speed Relay Control
D Light Green High Speed Relay Output
Fig 15: Low/High Speed Radiator Fan Relay Connector Terminal ID (Caravan & Voyager)
G95C28003Courtesy of CHRYSLER CORP.
TCC SOLENOID CONNECTOR TERMINAL IDENTIFICATION

Terminal Wire Color Function
1 --- Not Used
2 Dark Blue Fused Ign. Sw. Output
3 Orange/Black Solenoid Control
Fig 16: TCC Solenoid Connector Terminal ID (Caravan & Voyager)
G95E28005Courtesy of CHRYSLER CORP.
TPS CONNECTOR TERMINAL IDENTIFICATION

Terminal Wire Color Function
1 Black/Light Blue Ground
2 Orange/Dark Blue Signal
3 Violet/White 5-Volt Supply
Fig 17: TP Sensor Connector Terminal ID (Caravan & Voyager)
G95F28006Courtesy of CHRYSLER CORP.
TRANSMISSION TEMPERATURE SENSOR CONNECTOR TERMINAL ID

Terminal Wire Color Function
1 Violet Sensor Signal
2 Black/Light Blue Ground
Fig 18: Transmission Temp. Sensor Conn. Terminal ID (Caravan & Voyager)
G94E66146Courtesy of CHRYSLER CORP.
Fig 19: PCM Connector Terminal ID (Caravan & Voyager)
G92I04785Courtesy of CHRYSLER CORP.