LEMON Manuals: Even more car manuals for everyone: 1960-2025
Home >> Honda >> 2007 >> Fit Base, Standard >> Repair and Diagnosis >> External Pages >> Different car >> Section 15 (Steering Column) >> Steering System >> Repair
April 5, 2026: LEMON Manuals is launched! Read the announcement.

Steering System: Repair

WARNING: This page is about a different car, the 2007 Toyota Tacoma. However, it is still accessible from the selected car via links, so may be relevant.
  1. STEERING OFF CENTER REPAIR PROCEDURE 
    1. Inspect steering wheel off center.
      1. Apply masking tape to the top center of the steering wheel and steering column upper cover.
      2. Drive the vehicle in a straight line for 100 meters at a constant speed of 35 mph (56 km/h), and hold the steering wheel to maintain the course.
        Fig 1: Applying Masking Tape To Top Center Of Steering Wheel
        G04411108Courtesy of © TOYOTA, LICENSE AGREEMENT TMS1002
      3. Draw a line on the masking tape as shown in Fig 2.
        Fig 2: Drawing Line On Masking Tape
        G04411109Courtesy of © TOYOTA, LICENSE AGREEMENT TMS1002
      4. Turn the steering wheel to its straight position.

        HINT:

        Refer to the steering column upper cover and marked line on the steering wheel for the straight position.

      5. Draw a new line on the masking tape or the steering wheel as shown in Fig 3.
      6. Measure the distance between the 2 lines on the masking tape of the steering wheel.
      7. Convert the measured distance to the steering angle.

        Measured distance 1 mm (0.04 in.): 

        Steering angle approximately 1 deg. 

        HINT:

        Make a note of the steering angle.

        Fig 3: Measuring Distance Between Lines On Masking Tape Of Steering Wheel
        G04411110Courtesy of © TOYOTA, LICENSE AGREEMENT TMS1002
    2. Adjust the steering angle.
      1. Draw a line on the RH and LH tie rods and on the RH and LH rack ends which can easily be seen.
      2. Using a paper gauge, measure the distance from RH and LH tie rod ends to the rack end screws.

        HINT:

        • Measure both the RH and LH side.
        • Make a note of the measured values.
          Fig 4: Drawing Line On Tie Rods
          G04411111Courtesy of © TOYOTA, LICENSE AGREEMENT TMS1002
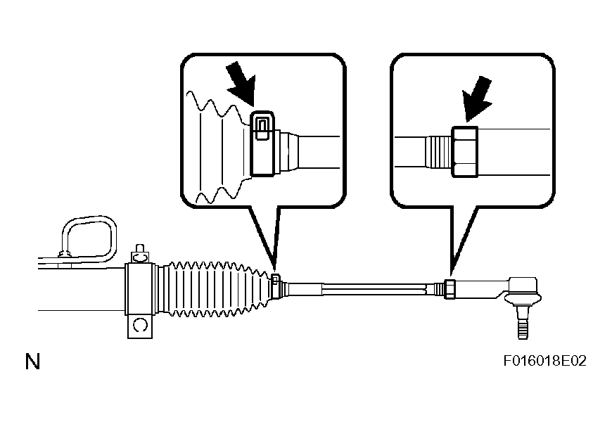
      3. Remove the RH and LH boot clips from the rack boots.
      4. Loosen the RH and LH lock nuts.
      5. Turn the RH and LH rack ends by the same amount (but in different directions) according to the steering angle.

        Amount of turn: 

        360° turn of rack end (1.5 mm (0.059 in.) horizontal movement) - 12° of steering angle. 

      6. Tighten the RH and LH lock nuts.
        Fig 5: Loosening Lock Nuts Boot Clips
        G04411112Courtesy of © TOYOTA, LICENSE AGREEMENT TMS1002

        Torque: 55.5 N*m (566 kgf*cm, 41 ft.*lbf) 

        NOTE: Make sure that the difference in length between the RH and LH tie rod ends and rack end screws is less than 1.5 mm (0.059 in.).
      7. Install the RH and LH boot clips.