LEMON Manuals: Even more car manuals for everyone: 1960-2025
Home >> Infiniti >> 2004 >> M45 >> Repair and Diagnosis >> Steering >> Power Steering System >> Power Steering Gear And Linkage >> Disassembly And Assembly >> Assembly
April 5, 2026: LEMON Manuals is launched! Read the announcement.

Disassembly And Assembly: Assembly

  1. Put an O-ring into rack.
    NOTE: Do not reuse rack O-ring.
  2. Heat rack Teflon ring to approximately 40°C (104°F) with a dryer. Assemble it to rack.
    NOTE: Do not reuse rack Teflon ring.
    Fig 1: Heating Teflon Ring With Dryer
    G00750011Courtesy of NISSAN MOTOR CO., U.S.A.
  3. To fit Teflon ring on rack, use Teflon ring installation tool from tooth side. Compress the rim of ring with tool. Then, put O-ring on Teflon ring.
    Fig 2: Identifying Teflon Ring Installation Tool
    G00750012Courtesy of NISSAN MOTOR CO., U.S.A.
  4. Insert rack oil seal.
    Fig 3: Identifying Rack Oil Seal, OHP Sheet & Rack
    G00750013Courtesy of NISSAN MOTOR CO., U.S.A.
    NOTE: Do not reuse rack oil seal.
    1. To avoid damaging inner rack oil seal, wrap an OHP sheet [approx. 70 mm (2.76 in) x 100 mm (3.94 in)] around rack tooth. Place oil seal on sheet. Then, pull oil seal along with OHP sheet until they pass the toothed section of rack, then remove it.
    2. Insert rack oil seal (inner) to piston (rack Teflon ring) position and push retainer to adjusting screw side with fingers lightly, and then make rack move in gear housing assembly, install rack oil seal (inner) to fit in with gear housing assembly.
      Fig 4: Identifying Rack Oil Seal (Inner) & Piston (Rack Teflon Ring)
      G00750014Courtesy of NISSAN MOTOR CO., U.S.A.
      CAUTION:
      • When inserting rack assembly, do not damage retainer sliding part. If it is damaged, replace gear housing assembly.
      • When inserting rack assembly, do not damage cylinder inner wall. If it is damaged, it may cause oil leak. Replace gear housing assembly.
    3. When installing outer rack oil seal, end cover of rack with an OHP sheet [70 mm (2.76 in) x 100 mm (3.94 in)]. It will avoid damaging rack oil seal. Then place oil seal on sheet. Pull rack oil seal along with OHP sheet until they pass the rack end. Install rack oil seal in place using end cover assembly. Then remove OHP sheet.
      Fig 5: Identifying Rack Oil Seal (Outer), OHP Sheet, Rack End & End Cover
      G00750015Courtesy of NISSAN MOTOR CO., U.S.A.
    4. Install end cover, move rack to gear housing assembly.
    5. Attach rack oil seal. Both inner lip and outer lip should face each other.
      Fig 6: Identifying Rack Oil Seal (Inner) & Rack Oil Seal (Outer)
      G00750016Courtesy of NISSAN MOTOR CO., U.S.A.
  5. Using a 42 mm (1.65 in) open head (suitable tool), tighten end cover assembly at the specified torque.
    Fig 7: Tightening End Cover Assembly At Specified Torque
    G00750017Courtesy of NISSAN MOTOR CO., U.S.A.
    1. Tightening torque: 
      1. 58.9 - 73.5 N.m (6.0 - 7.4 kg-m, 44 - 54 ft-lb) 
    NOTE: Do not damage rack surface. If it is damaged, it may cause oil leak. Replace rack assembly.
  6. After tightening end cover, caulk cylinder at one point as shown using a punch. This will prevent end cover from getting loose.
    Fig 8: Caulking Cylinder At Specified Point
    G00750018Courtesy of NISSAN MOTOR CO., U.S.A.
  7. Assemble an O-ring to gear housing assembly.
    NOTE: Do not reuse O-ring.
  8. Install sub-gear assembly to gear housing assembly, then tighten bolts at the specified torque.
    Fig 9: Identifying Sub-Gear Assembly Bolts
    G00750019Courtesy of NISSAN MOTOR CO., U.S.A.
    1. Tightening torque: 
      1. 15.7 - 20.5 N.m (1.6 - 2.0 kg-m, 12 - 15 ft-lb) 
  9. Attach lock plate to rack.
    NOTE: Do not reuse lock plate.
    1. Tack spacer ring to rack.
      NOTE: Do not reuse spacer ring.
    2. Install lock plate to inner socket.
    3. Apply thread lock adhesive (Three Bond 1324 or equivalent) to thread of inner socket. Screw inner socket into rack and tighten at specified torque.
      Fig 10: Identifying Adhesive Or Caulking Areas
      G00750020Courtesy of NISSAN MOTOR CO., U.S.A.
      1. Tightening torque: 
        1. 79 - 98 N.m (8.1 - 9.9 kg-m, 59 - 72 ft-lb) 
    4. Caulk lock plate at two points on rack slit.
    5. Install spacer ring to lock plate as shown in Fig 10 .
      NOTE: When installing spacer ring, avoid damaging it.
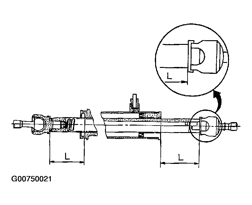
  10. Decide neutral position of rack gear.
    Fig 11: Deciding Neutral Position Of Rack Gear
    G00750021Courtesy of NISSAN MOTOR CO., U.S.A.
    1. Rack stroke "L" : 60mm (2.36 in) 
  11. Install the projection part (Tip) of rear cover to sub-gear assembly as shown.
    Fig 12: Installing Rear Cover Cap To Sub-Gear Assembly
    G00750022Courtesy of NISSAN MOTOR CO., U.S.A.
  12. Apply thread locking adhesive (Three Bond TB1111B or equivalent) to the thread of adjusting screw, and screw it to the projection height from gear housing assembly. The projection height is the same as it was measured in the overhaul in advance.
    Fig 13: Locating Adjusting Screw To Apply Thread Locking Adhesive
    G00750023Courtesy of NISSAN MOTOR CO., U.S.A.
  13. Rotate ten times throughout whole range of pinion so that parts fit with each other.
  14. Measure pinion rotation torque within from - 180° to + 180° make preload gauge (special service tool) turn at the speed of 2 - 3 rpm in the rack neutral position, then hold preload gauge (special service tool) at maximum torque.
    Fig 14: Measuring Specified Torque With Special Service Tools
    G00750024Courtesy of NISSAN MOTOR CO., U.S.A.
  15. After loosening adjusting screw once, tighten it again with torque of 4.9 - 5.9 N.m (0.50 - 0.60 kg-m, 44 - 52 in-lb). Furthermore loosen it within from 20° to 40°.
  16. Measure pinion rotation torque with preload gauge (special service tool), then confirm whether its reading is within specified range. If reading is not within specified range, readjust screw angle with adjusting screw. Replace gear assembly with new one, if reading is still not within specified range or rotation torque of adjusting screw is less than 5 N.m (0.51 kg-m, 44 in-lb).
    Fig 15: Determining Pinion Torque Based On Left or Right Turning Angle
    G00750025Courtesy of NISSAN MOTOR CO., U.S.A.
    1. Pinion rotation torque: 
      1. Around neutral position (within +/- 100°) 
    2. Average "A": 
      • 0.8 - 2.0 N.m (0.09 - 0.20 kg-m, 7 - 17 in-lb) 
      1. Other than above (more than +/- 100°) 
      2. Maximum variation "B": 
        1. 2.3 N.m (0.23 kg-m, 20 in-lb) 
  17. Turn pinion fully to end of left with tie-rods to rack.
  18. Set dial gauge to rack as shown in Fig 16 . Measure vertical movement of rack when pinion is turned counterclockwise with torque of 19.6 N.m (2.0 kg-m, 14 ft-lb). Check reading is within specified range. If reading is still outside of specification, readjust screw angle with adjusting screw. If reading is still outside of specification, or if the rotation torque of adjusting screw is less than 5 N.m (0.51 kg-m, 44 in-lb), replace steering gear assembly.
    Fig 16: Measuring Vertical Movement When Pinion Is Turned Counterclockwise
    G00750026Courtesy of NISSAN MOTOR CO., U.S.A.
    Fig 17: Determining Torque Based On Movement With Rack
    G00750027Courtesy of NISSAN MOTOR CO., U.S.A.
  19. Install boot of large-diameter side to gear housing assembly.
  20. Install boot of small-diameter side to inner socket boot mounting groove.
  21. Install boot clamp to small-diameter side of boot.
    Fig 18: Identifying Boot Clamp Of Large Side & Small Side
    G00750028Courtesy of NISSAN MOTOR CO., U.S.A.
  22. Install boot clamp to boot of the large-diameter side.
    1. Twist boot clamp (stainless wire) of the large diameter side for LH/RH boots.
      Fig 19: Installing Boot Clamp Of Large-Diameter Side
      G00750029Courtesy of NISSAN MOTOR CO., U.S.A.
      1. Wire length "L" 
      1. LH (sub-gear assembly side): 390 mm (15.35 in) 
      1. RH (end cover assembly side): 410 mm (16.14 in) 
    2. After twisting clamp around boot groove for two turns, insert screwdriver in loop on both ends of wire. Twist 4 to 4.5 turns while pulling with a force of approx. 98 N (10 kg, 22.1 lb).
    3. Twist boot clamp as shown, pay attention to relationship between winding and twisting directions.
      Fig 20: Twisting Clamp (Stainless Wire) Around Boot Groove
      G00750030Courtesy of NISSAN MOTOR CO., U.S.A.
    4. Bend the twisted wire to radius direction of rack, then confirm the twisted point with clamp faces in the opposite direction to adjusting screw within 90° as shown.
      Fig 21: Confirming Twisted Point Faces Opposite Direction To Adjusting Screw
      G00750031Courtesy of NISSAN MOTOR CO., U.S.A.
    5. After twisting wire 4 to 4.5 turns, bend cut end of wire. Cut end of wire should not touch boot. Be sure wire end is at least 5 mm (0.20 in) away from clearance for tube.
      Fig 22: Cutting Wire & Placing It 5mm Away From Clearance For Tube
      G00750032Courtesy of NISSAN MOTOR CO., U.S.A.
  23. Install new O-ring to sub-gear assembly and install EPS solenoid valve to it, then tighten bolts at specified torque.
      Fig 23: Identifying EPS Solenoid Valve & Cylinder Tubes
      G00750033Courtesy of NISSAN MOTOR CO., U.S.A.
    1. Tightening torque: 
      1. 6.9 - 11 N.m (0.71 - 1.1 kg-m, 61 - 97 in-lb) 
  24. Install cylinder-tubes to gear housing assembly. Tighten flared nuts at specified torque.
    1. Tightening torque: 
      1. 19.7 - 26.4 N.m (2.0 - 2.6 kg-m, 15 - 19 ft-lb) 
  25. Install lock nut and outer socket to inner socket, then tighten lock nut temporarily until length of tie-rod reaches to specified value. On specified tightening torque with lock nut, refer to DISASSEMBLY AND ASSEMBLY  .
      Fig 24: Identifying Inner Socket, Lock Nut & Outer Socket Of Tie Rod
      G00750034Courtesy of NISSAN MOTOR CO., U.S.A.
    1. Tie-rod length "L" : 160 mm (6.30 in) 
    NOTE: Perform toe-in adjustment after this procedure. Length achieved after toe-in adjustment is not necessarily value given here.