LEMON Manuals: Even more car manuals for everyone: 1960-2025
Home >> Infiniti >> 2010 >> G37 Base, 2D Convertible >> Repair and Diagnosis >> External Pages >> Different car >> Section 88 (Audio Visual System & Navigation System) >> BOSE Audio With Navigation >> Component Diagnosis >> DTC U1250: Camera Control Unit >> Diagnosis Procedure
April 5, 2026: LEMON Manuals is launched! Read the announcement.

Diagnosis Procedure

WARNING: This page is about a different car, the 2010 Nissan Armada. However, it is still accessible from the selected car via links, so may be relevant.

Regarding Wiring Diagram information, refer to "WIRING DIAGRAM ".

  1. CHECK CAMERA-CONNECTION RECOGNITION SIGNAL CIRCUIT
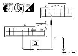
    1. Disconnect AV control unit connector and camera control unit connector.
    2. Check continuity between AV control unit harness connector M165 (A) terminal 84 and camera control unit harness connector B73 (B) terminal 5.
      CONTINUITY CHART

      A B Continuity
      Connector Terminal Connector Terminal
      M165 84 B73 5 Yes
      Fig 1: Checking Continuity Between AV Control Unit Harness Connector M165 Terminal And Camera Control Unit Harness Connector B73 Terminal
      G05383764Courtesy of NISSAN MOTOR CO., U.S.A.
    3. Check continuity between AV control unit harness connector M165 (A) terminal 84 and ground.
      CONTINUITY CHART

      A - Continuity
      Connector Terminal
      M165 84 Ground No

      Are the continuity results as specified? 

      YES: GO TO  2.

      NO: Repair harness or connector.

  2. CHECK AV CONTROL UNIT VOLTAGE
    1. Connect AV control unit connector.
    2. Turn ignition switch ON.
    3. Check voltage between AV control unit harness connector M165 terminal 84 and ground.
      VOLTAGE SPECIFICATION

      Connector Terminals Voltage
      (+) (-)
      M165 84 Ground Approx. 5V
      Fig 2: Checking Voltage Between AV Control Unit Harness Connector M165 Terminal 84 And Ground
      G05383765Courtesy of NISSAN MOTOR CO., U.S.A.

      Is voltage approximately 5 volts? 

      YES: Replace camera control unit. Refer to "REMOVAL AND INSTALLATION ".

      NO: Replace AV control unit. Refer to "REMOVAL AND INSTALLATION ".