LEMON Manuals: Even more car manuals for everyone: 1960-2025
Home >> Infiniti >> 2010 >> G37 Base, 2D Convertible >> Repair and Diagnosis >> External Pages >> Different car >> Section 88 (Audio Visual System & Navigation System) >> BOSE Audio With Navigation >> Component Diagnosis >> Front Tweeter >> Diagnosis Procedure
April 5, 2026: LEMON Manuals is launched! Read the announcement.

Diagnosis Procedure

WARNING: This page is about a different car, the 2010 Nissan Armada. However, it is still accessible from the selected car via links, so may be relevant.

Regarding Wiring Diagram information, refer to "WIRING DIAGRAM ".

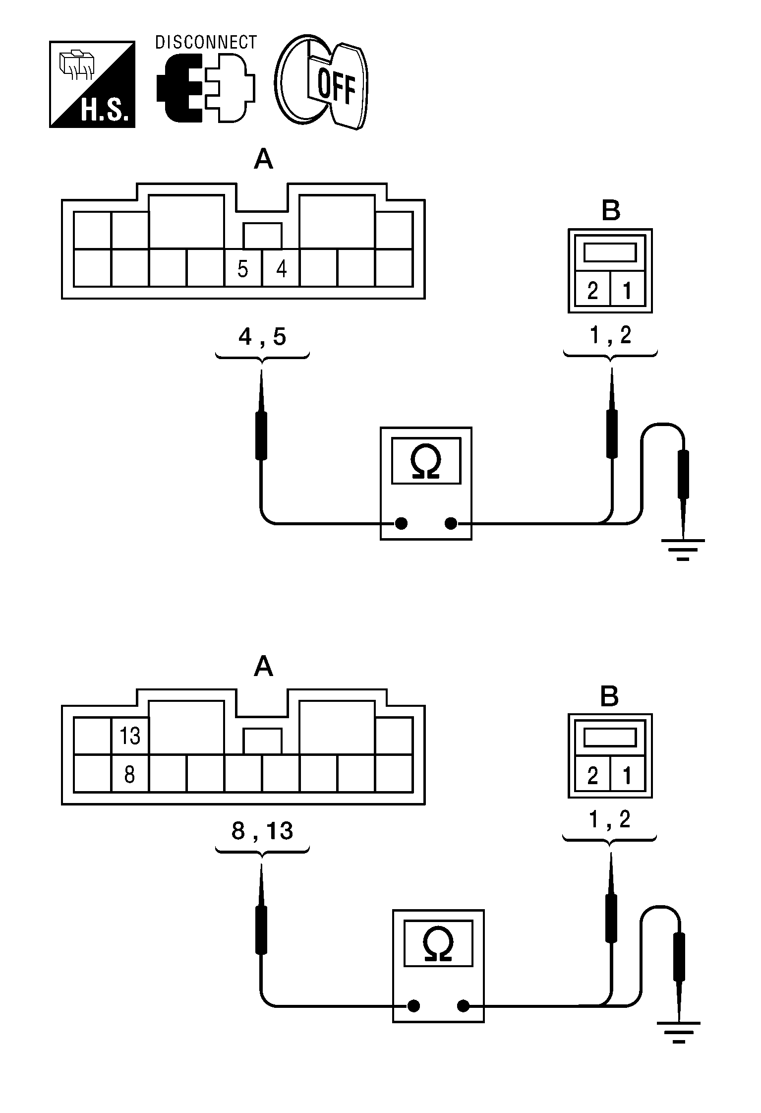
  1. HARNESS CHECK
    1. Disconnect BOSE speaker amp. connector M112 and suspect tweeter connector.
    2. Check continuity between BOSE speaker amp. harness connector M112 (A) and suspect tweeter harness connector (B).
      CONTINUITY CHART

      A B Continuity
      Connector Terminal Connector Terminal
      M112 4 M109 1 Yes
      5 2
      8 M111 1
      13 2
      Fig 1: Checking Continuity Between Bose Speaker Amp. Harness Connector M112 And Suspect Speaker Harness Connector
      G05383535Courtesy of NISSAN MOTOR CO., U.S.A.
    3. Check continuity between BOSE speaker amp. harness connector M112 (A) and ground.
      CONTINUITY CHART

      A - Continuity
      Connector Terminal
      M112 4 Ground No
      5
      8
      13

      Are continuity test results as specified? 

      YES: GO TO  2.

      NO:

      • Check connector housings for disconnected or loose terminals.
      • Repair harness or connector.
  2. FRONT TWEETER SIGNAL CHECK
    1. Connect BOSE speaker amp. connector M112 and suspect tweeter connector.
    2. Turn ignition switch to ACC.
    3. Push "POWER" switch.
    4. Check the signal between BOSE speaker amp. harness connector M112 terminals with CONSULT-III or oscilloscope.
      SIGNAL REFERENCE

      Connector Terminal Condition Reference signal
      (+) (-)
      M112 4 5 Receive audio signal
      G04904044Courtesy of NISSAN MOTOR CO., U.S.A.
      8 13
      Fig 2: Checking Signal Between Bose Speaker Amp. Harness Connector M112 Terminals
      G05383537Courtesy of NISSAN MOTOR CO., U.S.A.

      Is audio signal voltage as specified? 

      YES: Replace suspect tweeter. Refer to "REMOVAL AND INSTALLATION ".

      NO: GO TO  3.

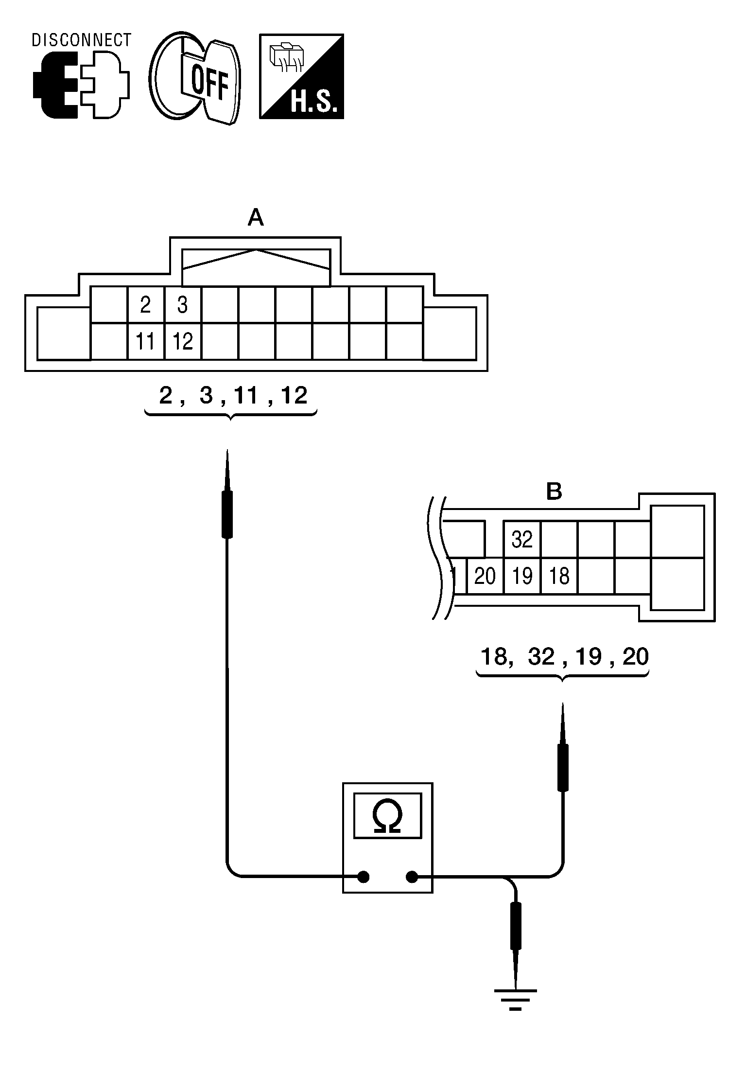
  3. HARNESS CHECK
    1. Disconnect AV control unit connector M161 and BOSE speaker amp. connector M113.
    2. Check continuity between AV control unit harness connector M161 (A) and BOSE speaker amp. harness connector M113 (B).
      CONTINUITY CHART

      A B Continuity
      Connector Terminal Connector Terminal
      M161 2 M113 18 Yes
      3 32
      11 19
      12 20
      Fig 3: Checking Continuity Between AV Control Unit Harness Connector M161 And Bose Speaker Amp. Harness Connector M113
      G05383816Courtesy of NISSAN MOTOR CO., U.S.A.
    3. Check continuity between AV control unit harness connector M161 (A) and ground.
      CONTINUITY CHART

      A - Continuity
      Connector Terminal
      M161 2 Ground No
      3
      11
      12

      Are continuity test results as specified? 

      YES: GO TO  4.

      NO:

      • Check connector housings for disconnected or loose terminals.
      • Repair harness or connector.
  4. FRONT SPEAKER SIGNAL CHECK
    1. Connect AV control unit connector and BOSE speaker amp. connector.
    2. Turn ignition switch ACC.
    3. Push "POWER" switch.
    4. Check the signal between AV control unit harness connector M161 terminals with CONSULT-III or oscilloscope.
      SIGNAL REFERENCE

      Connector Terminals Condition Reference signal
      (+) (-)
      M161 2 3 Receive audio signal
      G04904044Courtesy of NISSAN MOTOR CO., U.S.A.
      11 12
      Fig 4: Checking Signal Between AV Control Unit Harness Connector M161 Terminals
      G05383818Courtesy of NISSAN MOTOR CO., U.S.A.

      Are the audio signal voltage readings as specified? 

      YES: Replace BOSE speaker amp. Refer to "REMOVAL AND INSTALLATION ".

      NO: Replace AV control unit. Refer to "REMOVAL AND INSTALLATION ".