LEMON Manuals: Even more car manuals for everyone: 1960-2025
Home >> Infiniti >> 2010 >> G37 Base, 2D Convertible >> Repair and Diagnosis >> External Pages >> Different car >> Section 88 (Audio Visual System & Navigation System) >> BOSE Audio With Navigation >> Component Diagnosis >> Power Supply And Ground Circuit >> Av Control Unit >> AV CONTROL UNIT : Diagnosis Procedure
April 5, 2026: LEMON Manuals is launched! Read the announcement.

AV CONTROL UNIT : Diagnosis Procedure

WARNING: This page is about a different car, the 2010 Nissan Armada. However, it is still accessible from the selected car via links, so may be relevant.

Regarding Wiring Diagram information, refer to "WIRING DIAGRAM ".

  1. CHECK FUSES

    Check that the following AV control unit fuses are not blown.

    FUSE TERMINAL REFERENCE

    Unit Terminals Signal name Fuse No.
    AV control unit 19 Battery power 31
    66 Battery power 31
    68 Battery power 31
    7 Ignition switch ACC or ON 4
    69 Ignition switch ACC or ON 4
    79 Ignition switch ON or START 12

    Are the fuses OK? 

    YES: GO TO  2

    NO: If fuse is blown, be sure to eliminate cause of malfunction before installing new fuse.

  2. POWER SUPPLY CIRCUIT CHECK
    1. Disconnect AV control unit connectors M42 and M45.
    2. Check voltage between the AV control unit connectors M42 and M45 and ground.
      VOLTAGE SPECIFICATION

      (+) (-) OFF ACC ON
      Connector Terminal
      M42 7 Ground 0V Battery voltage Battery voltage
      19 Ground Battery voltage Battery voltage Battery voltage
      M45 66 Ground Battery voltage Battery voltage Battery voltage
      68 Ground Battery voltage Battery voltage Battery voltage
      69 Ground 0V Battery voltage Battery voltage
      79 Ground 0V 0V Battery voltage
      Fig 1: Checking Voltage Between AV Control Unit Connectors M42 And M45 And Ground
      G06318950Courtesy of NISSAN MOTOR CO., U.S.A.

      Are the voltage results as specified? 

      YES: GO TO  3

      NO:

      • Check connector housings for disconnected or loose terminals.
      • Repair harness or connector.
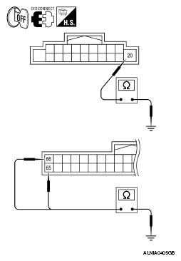
  3. GROUND CIRCUIT CHECK
    1. Ignition OFF.
    2. Check continuity between AV control unit harness connectors M42 and M45 and ground.
      CONTINUITY CHART

      Connector (+) (-) Continuity
      Terminal
      M42 20 Ground Yes
      M45 65
      66

      Are the continuity results as specified? 

      YES: Inspection End.

      NO: Repair AV control unit ground.

      Fig 2: Checking Continuity Between AV Control Unit Harness Connectors M42 And Ground
      G05383768Courtesy of NISSAN MOTOR CO., U.S.A.