LEMON Manuals: Even more car manuals for everyone: 1960-2025
Home >> Infiniti >> 2010 >> G37 Base, 2D Convertible >> Repair and Diagnosis >> External Pages >> Different car >> Section 88 (Audio Visual System & Navigation System) >> BOSE Audio With Navigation >> Component Diagnosis >> Subwoofer >> Diagnosis Procedure
April 5, 2026: LEMON Manuals is launched! Read the announcement.

Diagnosis Procedure

WARNING: This page is about a different car, the 2010 Nissan Armada. However, it is still accessible from the selected car via links, so may be relevant.

Regarding Wiring Diagram information, refer to "WIRING DIAGRAM ".

  1. VERIFY SUBWOOFER POWER AND GROUND SUPPLY

    Check power and ground supply to the subwoofer. Refer to "SUBWOOFER : DIAGNOSIS PROCEDURE ".

    Did the power and ground supply check OK? 

    YES: GO TO  2.

    NO:

    • Check connector housings for disconnected or loose terminals.
    • Repair harness or connector.
  2. HARNESS CHECK
    1. Disconnect BOSE speaker amp. connector M112 and subwoofer connector.
    2. Check continuity between BOSE speaker amp. harness connector M112 (A) and M113 (B) and subwoofer harness connector B72 (C).
      CONTINUITY CHART

      Connector Terminal Connector Terminal Continuity
      A: M112 9 C: B72 2 Yes
      14 1
      B: M113 25 4
      Fig 1: Checking Continuity Between Bose Speaker Amp. Harness Connector M112 And M113
      G05383571Courtesy of NISSAN MOTOR CO., U.S.A.
    3. Check continuity between BOSE speaker amp. harness connector M112 (A) and M113 (B) and ground.
      CONTINUITY CHART

      Connector Terminal - Continuity
      A: M112 9 Ground No
      14
      B: M113 25

      Are the continuity test results as specified? 

      YES: GO TO  3.

      NO:

      • Check connector housings for disconnected or loose terminals.
      • Repair harness or connector.
  3. SUBWOOFER AMP ON SIGNAL CHECK
    1. Connect BOSE speaker amp. connector M112.
    2. Turn ignition switch to ACC.
    3. Push "POWER" switch.
    4. Check voltage between subwoofer connector B72 terminal 4 and ground.
      VOLTAGE SPECIFICATION

      (+) (-) ACC
      Connector Terminal
      B72 4 Ground Battery voltage
      Fig 2: Checking Voltage Between Subwoofer Connector B72 Terminal 4 And Ground
      G05383572Courtesy of NISSAN MOTOR CO., U.S.A.

      Are the voltage test results as specified? 

      YES: GO TO  4.

      NO: Replace BOSE speaker amp. Refer to "REMOVAL AND INSTALLATION ".

  4. SUBWOOFER AUDIO SIGNAL CHECK
    1. Connect BOSE speaker amp. connector M112 and subwoofer connector B72.
    2. Turn ignition switch to ACC.
    3. Push "POWER" switch.
    4. Check the signal between BOSE speaker amp. harness connector M112 terminals with CONSULT-III or oscilloscope.
      SIGNAL REFERENCE

      Connector Terminals Condition Reference signal
      (+) (-)
      M112 9 14 Receive audio signal
      G04904044Courtesy of NISSAN MOTOR CO., U.S.A.
      Fig 3: Checking Signal Between Bose Speaker Amp. Harness Connector M112 Terminals
      G05383574Courtesy of NISSAN MOTOR CO., U.S.A.

      Is the audio signal voltage as specified? 

      YES: Replace subwoofer. Refer to "REMOVAL AND INSTALLATION ".

      NO: GO TO  5.

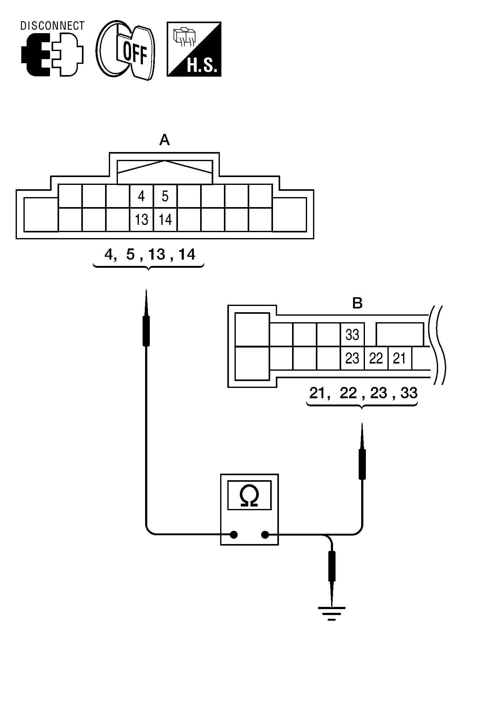
  5. HARNESS CHECK
    1. Disconnect AV control unit connector M161 and BOSE speaker amp. connector M113.
    2. Check continuity between AV control unit harness connector M161 (A) and BOSE speaker amp. harness connector M113 (B).
      CONTINUITY CHART

      A B Continuity
      Connector Terminal Connector Terminal
      M161 4 M113 21 Yes
      5 22
      13 23
      14 33
      Fig 4: Checking Continuity Between AV Control Unit Harness Connector M161 And Bose Speaker Amp. Harness Connector M113
      G05383834Courtesy of NISSAN MOTOR CO., U.S.A.
    3. Check continuity between AV control unit harness connector M161 (A) and ground.
      CONTINUITY CHART

      A - Continuity
      Connector Terminal
      M161 4 Ground No
      5
      13
      14

      Are the continuity test results as specified? 

      YES: GO TO  6.

      NO:

      • Check connector housings for disconnected or loose terminals.
      • Repair harness or connector.
  6. SUBWOOFER SPEAKER SIGNAL CHECK
    1. Connect AV control unit connector M161 and BOSE speaker amp. connector M113.
    2. Turn ignition switch to ACC.
    3. Push "POWER" switch.
    4. Check the signal between AV control unit harness connector M161 terminals with CONSULT-III or oscilloscope.
      SIGNAL REFERENCE

      Connector Terminals Condition Reference signal
      (+) (-)
      M161 4 5 Receive audio signal
      G04904044Courtesy of NISSAN MOTOR CO., U.S.A.
      13 14
      Fig 5: Checking Signal Between AV Control Unit Harness Connector M161 Terminals
      G05383836Courtesy of NISSAN MOTOR CO., U.S.A.

      Is the audio signal voltage reading as specified? 

      YES: Replace BOSE speaker amp. Refer to "REMOVAL AND INSTALLATION ".

      NO: Replace AV control unit. Refer to "REMOVAL AND INSTALLATION ".