LEMON Manuals: Even more car manuals for everyone: 1960-2025
Home >> Lexus >> 2004 >> SC 430 >> Repair and Diagnosis >> External Pages >> Different car >> Section 210 (LEXUS Navigation System - Diagnosis) >> Power Source Circuit (Radio Receiver ASSY) >> Inspection Procedure
April 5, 2026: LEMON Manuals is launched! Read the announcement.

Inspection Procedure

WARNING: This page is about a different car, the 2004 Lexus LS 430. However, it is still accessible from the selected car via links, so may be relevant.
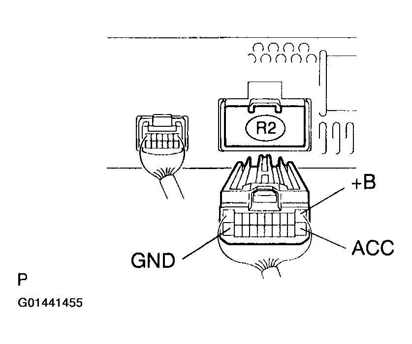
  1. INSPECT RADIO RECEIVER ASSY (+B, ACC, GND) 
    1. Disconnect the radio receiver assy connector R2.
    2. Measure the resistance according to the value (s) in the figure Fig 1 below.

      Standard: 

      Fig 1: Terminals Resistance Reference Chart
      G01441454Courtesy of © TOYOTA, LICENSE AGREEMENT TMS1002
      Fig 2: Terminals Voltage Reference Chart
      G01441455Courtesy of © TOYOTA, LICENSE AGREEMENT TMS1002
    3. Measure the voltage according to the value (s) in the figure Fig 3 below.

      Standard: 

      Fig 3: Inspecting Radio Receiver Assy (+B, ACC, GND)
      G01441456Courtesy of © TOYOTA, LICENSE AGREEMENT TMS1002

    NG: REPAIR OR REPLACE HARNESS OR CONNECTOR 

    OK: PROCEED TO NEXT CIRCUIT INSPECTION SHOWN IN DIAGNOSTIC TROUBLE CODE CHART (SEE  DIAGNOSTIC TROUBLE CODE CHART  )