LEMON Manuals: Even more car manuals for everyone: 1960-2025
Home >> Lexus >> 2004 >> SC 430 >> Repair and Diagnosis >> External Pages >> Different car >> Section 268 (Power Seat Control System - Diagnosis) >> Circuit Inspection >> Position Sensor Power Source Circuit >> Inspection Procedure
April 5, 2026: LEMON Manuals is launched! Read the announcement.

Inspection Procedure

WARNING: This page is about a different car, the 2004 Lexus LX 470. However, it is still accessible from the selected car via links, so may be relevant.
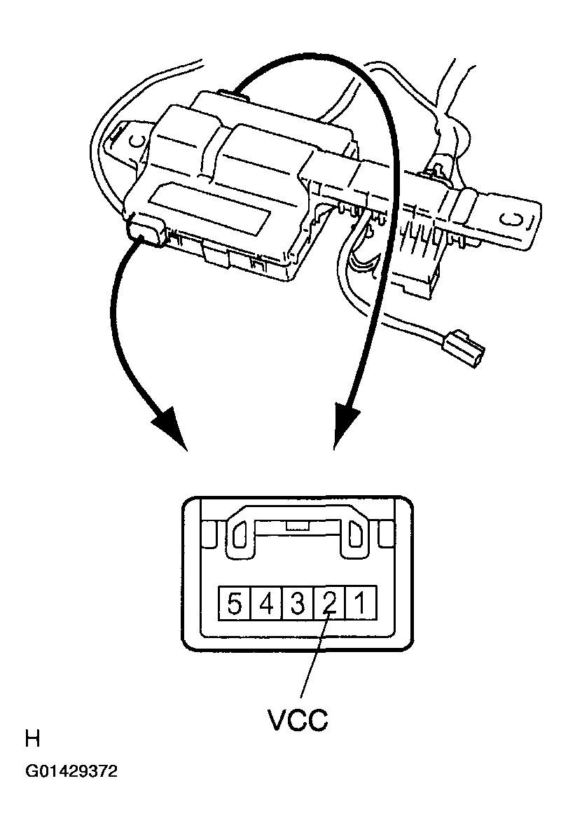
  1. Check voltage between terminal VCC of Power Seat Control ECU connector and body ground. 

    PREPARATION: 

    Remove Power Seat Control ECU with connectors being connected.

    CHECK: 

    While operating the Power Seat Control Switch and moving the seat, check voltage between terminal VCC of Power Seat Control ECU connector and body ground.

    OK: 

    1. Voltage: 7.2 - 8.8 V 
    Fig 1: Checking Voltage Between Terminal VCC Of Power Seat Control ECU Connector And Body Ground
    G01429372Courtesy of © TOYOTA, LICENSE AGREEMENT TMS1002
    1. OK: Proceed to next circuit inspection shown on problem symptom table (See  PROBLEM SYMPTOMS TABLE  ). 
    2. NG: Go to Next Step 
  2. Check harness and connector connected to terminal VCC of Power Seat Control ECU (See  HOW TO USE THE DIAGNOSTIC CHART AND INSPECTION PROCEDURE  ). 
    1. NG: Repair or replace harness or connector. 
    2. OK: Check and replace Power Seat Control ECU (See  HOW TO USE THE DIAGNOSTIC CHART AND INSPECTION PROCEDURE  ).