LEMON Manuals: Even more car manuals for everyone: 1960-2025
Home >> Lexus >> 2007 >> GS 430 >> Repair and Diagnosis >> Transmission >> Automatic Trans >> Automatic Transaxle >> Automatic Transmission Unit >> Disassembly
April 5, 2026: LEMON Manuals is launched! Read the announcement.

Automatic Transmission Unit: Disassembly

  1. REMOVE TRANSAXLE CASE COVER UPPER 
    1. Remove the 2 bolts and transaxle case cover upper.
  2. REMOVE TRANSMISSION CONTROL SHAFT LEVER RH 
    1. Remove the nut, spring washer and the transmission control shaft lever RH.
    Fig 1: Locating Transmission Control Shaft Lever Nut (RH)
    G05295471Courtesy of © TOYOTA, LICENSE AGREEMENT TMS1002
  3. REMOVE PARK/NEUTRAL POSITION SWITCH ASSEMBLY 
    1. Using a screwdriver, unstake the lock washer.
    2. Remove the nut and lock washer.
    3. Remove the bolt and park/neutral position switch.
    Fig 2: Identifying Park/Neutral Position Switch Bolt
    G05295472Courtesy of © TOYOTA, LICENSE AGREEMENT TMS1002
  4. REMOVE OIL COOLER TUBE UNION 
    1. Remove the 2 oil cooler tube unions.
    2. Remove the O-rings from the oil cooler tube unions.
    Fig 3: Removing Oil Cooler Tube Unions
    G05295473Courtesy of © TOYOTA, LICENSE AGREEMENT TMS1002
  5. REMOVE SPEED SENSOR 
    1. Remove the 2 bolts and the 2 speed sensors.
    2. Remove the O-rings from each sensor.
    Fig 4: Locating Speed Sensors Bolts
    G05294876Courtesy of © TOYOTA, LICENSE AGREEMENT TMS1002
  6. REMOVE AUTOMATIC TRANSMISSION BREATHER TUBE 
    1. Remove the 2 bolts.
    2. Remove the breather tube.
    Fig 5: Locating Automatic Transmission Breather Tube Bolts
    G05295475Courtesy of © TOYOTA, LICENSE AGREEMENT TMS1002
  7. REMOVE AUTOMATIC TRANSMISSION HOUSING 
    1. Remove the 10 bolts.
    2. Remove the transmission housing.
    Fig 6: Locating Automatic Transmission Housing Bolts
    G05295476Courtesy of © TOYOTA, LICENSE AGREEMENT TMS1002
  8. REMOVE AUTOMATIC TRANSMISSION FLANGE YOKE ASSEMBLY 
    1. Using a hammer and chisel, loosen the staked part of the nut.
    2. Remove the nut and flange yoke.
      Fig 7: Loosening Staked Part Of Nut
      G05295477Courtesy of © TOYOTA, LICENSE AGREEMENT TMS1002
    3. Remove the oil seal from the flange yoke.
    Fig 8: Identifying Oil Seal
    G05295478Courtesy of © TOYOTA, LICENSE AGREEMENT TMS1002
  9. REMOVE EXTENSION (ATM) HOUSING SUB-ASSEMBLY 
    1. Remove the 6 bolts.
      Fig 9: Locating Extension (ATM) Housing Bolts
      G05295479Courtesy of © TOYOTA, LICENSE AGREEMENT TMS1002
    2. Use a screwdriver to remove the extension housing sub-assembly.
      Fig 10: Removing Extension Housing Sub-Assembly
      G05295480Courtesy of © TOYOTA, LICENSE AGREEMENT TMS1002
    3. Using a snap ring expander, remove the snap ring.
    4. Remove the thrust needle roller bearing and the 2 bearing races.
    Fig 11: Removing Snap Ring
    G05295481Courtesy of © TOYOTA, LICENSE AGREEMENT TMS1002
  10. REMOVE RR COVER SLEEVE 
    1. Remove the 2 washers and RR cover sleeve.
  11. REMOVE TRANSMISSION CASE ADAPTOR RADIAL BALL BEARING 
    1. Remove the transmission case adaptor radial ball bearing from the extension housing sub-assembly.
    Fig 12: Identifying Washers And RR Cover Sleeve
    G05295482Courtesy of © TOYOTA, LICENSE AGREEMENT TMS1002
  12. REMOVE AUTOMATIC TRANSMISSION EXTENSION HOUSING OIL SEAL 
    1. Using a screwdriver, remove the oil seal.
    Fig 13: Removing Automatic Transmission Extension Housing Oil Seal
    G05295483Courtesy of © TOYOTA, LICENSE AGREEMENT TMS1002
  13. FIX AUTOMATIC TRANSMISSION CASE SUB-ASSEMBLY 
    1. Install the transmission case on the overhaul attachment.
    Fig 14: Fixing Automatic Transmission Case On Overhaul Attachment
    G05294879Courtesy of © TOYOTA, LICENSE AGREEMENT TMS1002
  14. REMOVE AUTOMATIC TRANSMISSION OIL PAN SUB-ASSEMBLY 
    NOTE: Do not turn the transmission over as this will contaminate the valve body with foreign matter located at the bottom of the pan.
    1. Remove the over flow plug and the gasket.
    2. Remove the drain plug and the gasket.
    3. Remove the 20 bolts, oil pan and gasket.
    4. Examine particles in the pan.
      1. Remove the magnets from the oil pan. Use the removed magnets to collect any steel chips. Look carefully at the chips and particles in the pan and on the magnet to anticipate what type of wear you will find in the transaxle.

        Steel (magnetic): bearing, gear and plate wear Brass (non-magnetic): bearing wear

    Fig 15: Collecting Steel Chips With Magnet
    G04975943Courtesy of © TOYOTA, LICENSE AGREEMENT TMS1002
  15. REMOVE VALVE BODY OIL STRAINER ASSEMBLY 
    1. Turn over the transmission.
    2. Remove the 4 bolts and valve body oil strainer assembly from the valve body.
    3. Remove the O-ring from the valve body oil strainer assembly.
    Fig 16: Locating Oil Strainer Bolts
    G05295486Courtesy of © TOYOTA, LICENSE AGREEMENT TMS1002
  16. REMOVE TRANSMISSION WIRE 
    1. Remove the 3 bolts and disconnect the 3 clamps.
    2. Disconnect the 9 connectors from the shift solenoid valves.
      Fig 17: Locating Shift Solenoid Valves Connectors
      G05294883Courtesy of © TOYOTA, LICENSE AGREEMENT TMS1002
    3. Remove the bolt from the transmission case.
    4. Pull the transmission wire out of the transmission case.
    5. Remove the O-ring from the transmission wire.
    Fig 18: Locating Transmission Wire Bolt
    G05294884Courtesy of © TOYOTA, LICENSE AGREEMENT TMS1002
  17. REMOVE TRANSMISSION VALVE BODY ASSEMBLY 
    1. Remove the bolt, the detent spring cover and detent spring.
      Fig 19: Locating Detent Spring Cover Bolt
      G05294885Courtesy of © TOYOTA, LICENSE AGREEMENT TMS1002
    2. Remove the 20 bolts.
    3. Remove the valve body assembly.
      Fig 20: Locating Transmission Valve Body Assembly Bolts
      G05294886Courtesy of © TOYOTA, LICENSE AGREEMENT TMS1002
  18. REMOVE TRANSAXLE CASE GASKET 
    1. Remove the 3 transaxle case gaskets.
    Fig 21: Identifying Transaxle Case Gasket
    G05294887Courtesy of © TOYOTA, LICENSE AGREEMENT TMS1002
  19. REMOVE BRAKE DRUM GASKET 
    1. Remove the 3 brake drum gaskets.
    Fig 22: Identifying Brake Drum Gasket
    G05294888Courtesy of © TOYOTA, LICENSE AGREEMENT TMS1002
  20. REMOVE CHECK BALL BODY 
    1. Remove the check ball body and the spring.
    Fig 23: Identifying Check Ball Body And Spring
    G05294889Courtesy of © TOYOTA, LICENSE AGREEMENT TMS1002
  21. REMOVE C-2 ACCUMULATOR PISTON 
    1. While blowing compressed air into the oil hole, remove the C-2 accumulator piston and the spring.
    2. Remove the 2 O-rings from the piston.
      NOTE: Take care as the C-3 and B-3 accumulator piston may jump out.
    Fig 24: Removing C-2 Accumulator Piston
    G05294890Courtesy of © TOYOTA, LICENSE AGREEMENT TMS1002
  22. REMOVE B-3 ACCUMULATOR PISTON 
    1. Applying compressed air to the oil hole, remove the B-3 accumulator piston and the spring.
    2. Remove the 2 O-rings from the piston.
      NOTE: Take care as the C-3 accumulator piston may jump out.
  23. REMOVE C-3 ACCUMULATOR PISTON 
    1. While blowing compressed air into the oil hole, remove the C-3 accumulator piston and the 2 springs.
    2. Remove the 2 O-rings from the piston.
    Fig 25: Removing C-3 Accumulator Piston
    G05294891Courtesy of © TOYOTA, LICENSE AGREEMENT TMS1002
  24. REMOVE B-1 ACCUMULATOR VALVE 
    1. Remove the B-1 accumulator valve and the 2 springs.
    Fig 26: Identifying B-1 Accumulator Valve And Springs
    G05294892Courtesy of © TOYOTA, LICENSE AGREEMENT TMS1002
  25. REMOVE PARKING LOCK PAWL BRACKET 
    1. Remove the 3 bolts and the parking lock pawl bracket.
    Fig 27: Locating Parking Lock Pawl Bracket Bolts
    G05294893Courtesy of © TOYOTA, LICENSE AGREEMENT TMS1002
  26. REMOVE PARKING LOCK ROD SUB-ASSEMBLY 
    1. Disconnect the parking lock rod from the manual valve lever.
    Fig 28: Identifying Parking Lock Rod
    G05294894Courtesy of © TOYOTA, LICENSE AGREEMENT TMS1002
  27. REMOVE PARKING LOCK PAWL SHAFT 
    1. Pull out the parking lock pawl shaft from the front side, then remove the lock pawl and the spring.
    2. Remove the E-ring from the shaft.
    Fig 29: Identifying Parking Lock Pawl Shaft
    G05294895Courtesy of © TOYOTA, LICENSE AGREEMENT TMS1002
  28. REMOVE MANUAL VALVE LEVER SUB-ASSEMBLY 
    1. Using a hammer and a screwdriver, cut off the spacer and remove it from the shaft.
      Fig 30: Removing Spacer
      G05294896Courtesy of © TOYOTA, LICENSE AGREEMENT TMS1002
    2. Using a pin punch and a hammer, drive out the spring pin.

      HINT:

      Slowly drive out the spring pin so that it does not fall into the transmission case.

    3. Pull the manual valve lever shaft out through the case, and remove the manual valve lever.
    Fig 31: Removing Spring Pin
    G05295501Courtesy of © TOYOTA, LICENSE AGREEMENT TMS1002
  29. REMOVE MANUAL VALVE LEVER SHAFT OIL SEAL 
    1. Using a screwdriver, remove the 2 oil seals.
    Fig 32: Removing Manual Valve Lever Shaft Oil Seal
    G05294898Courtesy of © TOYOTA, LICENSE AGREEMENT TMS1002
  30. REMOVE OIL PUMP ASSEMBLY 
    1. Remove the 10 bolts from the transmission case.
      Fig 33: Locating Transmission Case Bolts
      G05294899Courtesy of © TOYOTA, LICENSE AGREEMENT TMS1002
    2. Using a screwdriver with its tip wrapped with tape, pull out the oil pump.
      NOTE: Do not damage the oil pump.
      Fig 34: Pulling Out Oil Pump
      G05294900Courtesy of © TOYOTA, LICENSE AGREEMENT TMS1002
    3. Remove the thrust bearing race No.1 from the oil pump.
    4. Remove the O-ring from the oil pump.
    Fig 35: Identifying Oil Pump O-Ring
    G05294901Courtesy of © TOYOTA, LICENSE AGREEMENT TMS1002
  31. REMOVE CLUTCH DRUM AND INPUT SHAFT 
    1. Remove the clutch drum and input shaft from the transmission case.
      Fig 36: Removing Clutch Drum And Input Shaft From Transmission Case
      G05294902Courtesy of © TOYOTA, LICENSE AGREEMENT TMS1002
    2. Remove the clutch drum thrust washer, 2 thrust needle roller bearings and bearing race.
  32. INSPECT 1 WAY NO.2 CLUTCH ASSEMBLY (See  REASSEMBLY  ) 
    Fig 37: Identifying Clutch Drum Thrust Washer, Thrust Needle Roller Bearings And Bearing Race
    G05294903Courtesy of © TOYOTA, LICENSE AGREEMENT TMS1002
  33. REMOVE 1 WAY NO.2 CLUTCH ASSEMBLY 
    1. Remove the 1 way No.2 clutch assembly and clutch drum thrust washer from the clutch drum and input shaft.
    Fig 38: Identifying 1 Way Clutch Assembly And Clutch Drum Thrust Washer
    G05294904Courtesy of © TOYOTA, LICENSE AGREEMENT TMS1002
  34. REMOVE BRAKE NO.3 SNAP RING 
    1. Using a screwdriver, remove the brake No.3 snap ring from the transmission case.
    Fig 39: Removing Brake No 3 Snap Ring
    G05294905Courtesy of © TOYOTA, LICENSE AGREEMENT TMS1002
  35. REMOVE 2ND BRAKE DISC SET 
    1. Remove the flange, cushion plate, 4 discs and 4 plates from the transmission case.
      Fig 40: Identifying 2nd Brake Disc Set
      G05294906Courtesy of © TOYOTA, LICENSE AGREEMENT TMS1002
  36. INSPECT 2ND BRAKE DISC SET (See  REASSEMBLY  ) 
  37. REMOVE 2ND BRAKE PISTON HOLE SNAP RING 
    1. Using SST, remove the snap ring.

      SST 09350-30020 (09350-07060) 

    Fig 41: Removing 2nd Brake Piston Hole Snap Ring
    G05294907Courtesy of © TOYOTA, LICENSE AGREEMENT TMS1002
  38. REMOVE 1 WAY CLUTCH ASSEMBLY 
    1. Remove the 1 way clutch assembly and the planetary carrier thrust washer No.1 from the transmission case.
    Fig 42: Identifying 1 Way Clutch Assembly
    G05294908Courtesy of © TOYOTA, LICENSE AGREEMENT TMS1002
  39. REMOVE 2ND BRAKE CYLINDER 
    1. Remove the 2nd brake cylinder from the transmission case.
    Fig 43: Identifying 2nd Brake Cylinder
    G05294909Courtesy of © TOYOTA, LICENSE AGREEMENT TMS1002
  40. REMOVE 2ND BRAKE PISTON 
    1. Using SST and a press, remove the 2nd brake piston snap ring.

      SST 09351-40010 (09351-04060, 09351-04070) 

    2. Remove the brake piston return spring sub-assembly No.3.
      Fig 44: Removing 2nd Brake Piston Snap Ring
      G05294910Courtesy of © TOYOTA, LICENSE AGREEMENT TMS1002
    3. Hold the 2nd brake piston and apply compressed air (392 kPa, 4.0 kgf/cm2 , 57 psi) to the 2nd brake cylinder to remove the 2nd brake piston.
      Fig 45: Removing 2nd Brake Piston
      G05294911Courtesy of © TOYOTA, LICENSE AGREEMENT TMS1002
    4. Remove the 2 O-rings from the 2nd brake piston.
      Fig 46: Identifying 2nd Brake Piston O-Ring
      G05294912Courtesy of © TOYOTA, LICENSE AGREEMENT TMS1002
  41. INSPECT BRAKE PISTON RETURN SPRING SUB-ASSEMBLY NO.3 (See  REASSEMBLY  ) 
  42. REMOVE FRONT PLANETARY GEAR ASSEMBLY 
    1. Remove the front planetary gear assembly and the 1 way clutch inner race from the transmission case.
      Fig 47: Identifying Front Planetary Gear Assembly
      G04963533Courtesy of © TOYOTA, LICENSE AGREEMENT TMS1002
    2. Remove the thrust needle roller bearing, the thrust bearing race No.3 and the planetary carrier thrust washer No.2 from the transmission case.
      Fig 48: Identifying Thrust Needle Roller Bearing And Thrust Bearing Race
      G04963534Courtesy of © TOYOTA, LICENSE AGREEMENT TMS1002
  43. INSPECT FRONT PLANETARY GEAR ASSEMBLY (See  REASSEMBLY  ) 
  44. INSPECT 1 WAY CLUTCH ASSEMBLY (See  REASSEMBLY  ) 
  45. REMOVE FRONT PLANETARY RING GEAR 
    1. Remove the front planetary ring gear from the transmission case.
    Fig 49: Identifying Front Planetary Ring Gear
    G05110235Courtesy of © TOYOTA, LICENSE AGREEMENT TMS1002
  46. REMOVE CENTER PLANETARY RING GEAR 
    1. Using a screwdriver, remove the snap ring.
      Fig 50: Removing Snap Ring
      G05294916Courtesy of © TOYOTA, LICENSE AGREEMENT TMS1002
    2. Remove the center planetary ring gear and the front planetary ring gear flange from the front planetary ring gear.
    3. Remove the thrust needle roller bearing from the front planetary ring gear flange.
    Fig 51: Installing Center Planetary Ring Gear And Front Planetary Ring Gear Flange
    G05294917Courtesy of © TOYOTA, LICENSE AGREEMENT TMS1002
  47. REMOVE BRAKE DISC NO.1 
    1. Remove the flange, the 3 discs and the 3 plates from the transmission case.
      Fig 52: Identifying Flange And Discs
      G05294918Courtesy of © TOYOTA, LICENSE AGREEMENT TMS1002
  48. INSPECT BRAKE DISC NO.1 (See  REASSEMBLY  ) 
  49. REMOVE BRAKE PISTON RETURN SPRING SNAP RING 
    1. Using a screwdriver, remove the brake piston return spring snap ring from the transmission case.
    Fig 53: Removing Brake Piston Return Spring Snap Ring
    G05294919Courtesy of © TOYOTA, LICENSE AGREEMENT TMS1002
  50. REMOVE BRAKE PISTON RETURN SPRING SUB-ASSEMBLY 
    1. Remove the brake piston return spring and the brake piston No.1 with the brake cylinder No.1 from the transmission case.
      Fig 54: Identifying Brake Piston Return Spring And Brake Piston
      G05294920Courtesy of © TOYOTA, LICENSE AGREEMENT TMS1002
  51. INSPECT BRAKE PISTON RETURN SPRING SUB-ASSEMBLY (See  REASSEMBLY  ) 
  52. REMOVE BRAKE PISTON NO.1 
    1. Hold the brake cylinder No.1 and apply compressed air (392 kPa, 4 kgf/cm2 , 57 psi) to the brake cylinder No.1 to remove the brake piston No.1.

      HINT:

      If the piston does not pop out with compressed air, lift the piston out with needle-nose pliers.

    2. Remove the 2 O-rings from the brake piston No.1.
    Fig 55: Removing Brake Piston
    G05294921Courtesy of © TOYOTA, LICENSE AGREEMENT TMS1002
  53. REMOVE BRAKE DISC NO.2 
    1. Using a screwdriver, remove the brake No.2 snap ring from the transmission case.
      Fig 56: Removing Brake No 2 Snap Ring From Transmission Case
      G05294922Courtesy of © TOYOTA, LICENSE AGREEMENT TMS1002
    2. Remove the 2 flanges, the brake piston return spring, the 4 discs and the 3 plates from the transmission case.
      Fig 57: Identifying Flanges And Discs
      G05295527Courtesy of © TOYOTA, LICENSE AGREEMENT TMS1002
  54. INSPECT BRAKE DISC NO.2 (See  REASSEMBLY  ) 
  55. INSPECT BRAKE PISTON RETURN SPRING SUB-ASSEMBLY NO.2 (See  REASSEMBLY  ) 
  56. REMOVE BRAKE PISTON NO.2 
    1. Hold the brake piston No.2 and apply compressed air (392 kPa, 4 kgf/cm2 , 57 psi) to the transmission case to remove the brake piston No.2 with the cylinder.

      HINT:

      If the piston does not pop out with compressed air, lift the piston out with needle-nose pliers.

    2. Remove the piston from the cylinder.
    3. Remove the 2 O-rings from the brake piston No.2.
    Fig 58: Removing Brake Piston
    G05294924Courtesy of © TOYOTA, LICENSE AGREEMENT TMS1002
  57. REMOVE CENTER PLANETARY GEAR ASSEMBLY 
    1. Remove the center planetary gear assembly, the planetary sun gear and the thrust bearing race No.4 from the transmission case.
      Fig 59: Identifying Center Planetary Gear Assembly And Planetary Sun Gear
      G05289904Courtesy of © TOYOTA, LICENSE AGREEMENT TMS1002
  58. INSPECT CENTER PLANETARY GEAR ASSEMBLY (See  REASSEMBLY  ) 
  59. REMOVE INTERMEDIATE SHAFT 
    1. Using SST, remove the snap ring from the transmission case.

      SST 09350-30020 (09350-07060) 

      Fig 60: Removing Snap Ring From Transmission Case
      G05294926Courtesy of © TOYOTA, LICENSE AGREEMENT TMS1002
    2. Remove the intermediate shaft with the 1 way No.3 clutch assembly from the transmission case.
      Fig 61: Removing Intermediate Shaft
      G05294927Courtesy of © TOYOTA, LICENSE AGREEMENT TMS1002
  60. INSPECT 1 WAY NO.3 CLUTCH ASSEMBLY (See  REASSEMBLY  ) 
  61. REMOVE 1 WAY NO.3 CLUTCH ASSEMBLY 
    1. Remove the 1 way clutch No.3 assembly and the 1 way clutch inner race from the intermediate shaft.
    Fig 62: Identifying 1 Way Clutch Assembly And 1 Way Clutch Inner Race
    G05294928Courtesy of © TOYOTA, LICENSE AGREEMENT TMS1002
  62. REMOVE REAR PLANETARY RING GEAR FLANGE SUB-ASSEMBLY 
    1. Remove the thrust bearing race No.8, the thrust needle roller bearing, the thrust bearing race No.7 and the planetary ring gear flange from the intermediate shaft.
    Fig 63: Identifying Thrust Needle Roller Bearing And Thrust Bearing Race
    G05294929Courtesy of © TOYOTA, LICENSE AGREEMENT TMS1002
  63. INSPECT REAR PLANETARY RING GEAR FLANGE SUB-ASSEMBLY (See  REASSEMBLY  ) 
  64. INSPECT INTERMEDIATE SHAFT (See  REASSEMBLY  ) 
  65. REMOVE BRAKE PLATE STOPPER SPRING 
    1. Remove the brake plate stopper spring from the transmission case.
    Fig 64: Locating Brake Plate Stopper Spring
    G05294930Courtesy of © TOYOTA, LICENSE AGREEMENT TMS1002
  66. REMOVE BRAKE DISC NO.4 
    1. Remove the sleeve, 4 plates, 4 discs and flange from the transmission case.
      Fig 65: Identifying Sleeve, Plates And Discs
      G05289910Courtesy of © TOYOTA, LICENSE AGREEMENT TMS1002
  67. INSPECT BRAKE DISC NO.4 (See  REASSEMBLY  ) 
  68. REMOVE REAR PLANETARY GEAR ASSEMBLY 
    1. Remove the rear planetary gear assembly from the transmission case.
      Fig 66: Identifying Rear Planetary Gear Assembly
      G05295536Courtesy of © TOYOTA, LICENSE AGREEMENT TMS1002
    2. Remove the 2 thrust needle roller bearings from the rear planetary gear assembly.
      Fig 67: Identifying Thrust Needle Roller Bearings
      G05295537Courtesy of © TOYOTA, LICENSE AGREEMENT TMS1002
    3. Remove the thrust bearing race No.9 from the transmission case.
      Fig 68: Identifying Thrust Bearing Race
      G05289913Courtesy of © TOYOTA, LICENSE AGREEMENT TMS1002
  69. INSPECT REAR PLANETARY GEAR ASSEMBLY (See  REASSEMBLY  ) 
  70. REMOVE 1ST AND REVERSE BRAKE RETURN SPRING SUB-ASSEMBLY 
    1. Place SST on the 1st and reverse brake return spring sub-assembly and compress the brake return spring.

      SST 09350-30020 (09350-07050) 

    2. Using SST, remove the snap ring and the brake return spring.

      SST 09350-30020 (09350-07070) 

    Fig 69: Removing Snap Ring
    G05294935Courtesy of © TOYOTA, LICENSE AGREEMENT TMS1002
  71. INSPECT 1ST AND REVERSE BRAKE RETURN SPRING SUB-ASSEMBLY (See  INSPECTION  ) 
  72. REMOVE 1ST AND REVERSE BRAKE PISTON 
    1. Hold the 1st and reverse brake piston and blow compressed air (392 kPa, 4 kgf/cm2 , 57 psi) into the transmission case to remove the brake piston.

      HINT:

      If the piston does not pop out with compressed air, lift the piston out with needle-nose pliers.

    2. Remove the brake apply tube from the piston.
    3. Remove the O-ring from brake piston.
    Fig 70: Removing 1st And Reverse Brake Piston
    G05294936Courtesy of © TOYOTA, LICENSE AGREEMENT TMS1002
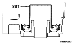
  73. REMOVE BRAKE REACTION SLEEVE 
    1. Using SST, remove the reaction sleeve.

      SST 09350-30020 (09350-07080) 

    2. Remove the 2 O-rings from the reaction sleeve.
    Fig 71: Removing Brake Reaction Sleeve
    G05294937Courtesy of © TOYOTA, LICENSE AGREEMENT TMS1002
  74. REMOVE BRAKE PISTON NO.4 
    1. Using SST, remove the brake piston No.4.

      SST 09350-30020 (09350-07080) 

    2. Remove the 2 O-rings from the brake piston No.4.
    Fig 72: Removing Brake Piston
    G05294938Courtesy of © TOYOTA, LICENSE AGREEMENT TMS1002