LEMON Manuals: Even more car manuals for everyone: 1960-2025
Home >> Lexus >> 2007 >> RX 400h AWD >> Repair and Diagnosis >> External Pages >> Different car >> Section 186 (Audio System & Visual System) >> Audio And Visual System >> Television Display Assembly Communication Error >> Inspection Procedure
April 5, 2026: LEMON Manuals is launched! Read the announcement.

Inspection Procedure

WARNING: This page is about a different car, the 2007 Toyota RAV4. However, it is still accessible from the selected car via links, so may be relevant.
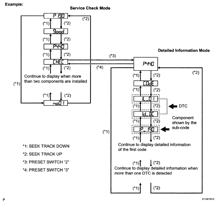
  1. IDENTIFY THE COMPONENT SHOWN BY THE SUB-CODE 
    1. Enter the diagnostic mode.
      Fig 1: Diagnostic Mode For Television Display Assembly Communication Error
      G05184803Courtesy of © TOYOTA, LICENSE AGREEMENT TMS1002
    2. Press the preset switch "2" to change to "Detailed Information Mode".
    3. Identify the component shown by the sub-code.

      HINT:

      • "190 (radio receiver)" is the component shown by the sub-code in the examples shown in the illustration.
      • For details of the DTC display, refer to the "DTC CHECK / CLEAR " .
  2. CHECK POWER SOURCE CIRCUIT OF COMPONENT SHOWN BY SUB-CODE 
    1. Inspect the power source circuit of the component shown by the sub-code.

      If the power source circuit is operating normally, proceed to the next step.

      Component table: 

      COMPONENT CHART

      Component Proceed to
      "Bluetooth" handsfree module (19D) RADIO RECEIVER POWER SOURCE CIRCUIT 
      Radio receiver (190) RADIO RECEIVER POWER SOURCE CIRCUIT 
      Stereo component amplifier (440) STEREO COMPONENT AMPLIFIER POWER SOURCE CIRCUIT 
  3. INSPECT RADIO RECEIVER ASSEMBLY 
    1. Disconnect the E62 receiver connector.
    2. Measure the resistance of the receiver.

    Standard resistance 

    STANDARD RESISTANCE SPECIFICATIONS

    Tester Connection Specified Condition
    E62-5 (ATX+) - E62-15 (ATX-) 60 to 80 Ω

    NG: REPLACE RADIO RECEIVER ASSEMBLY 

    Fig 2: Identifying E62 Connector Terminals
    G05184804Courtesy of © TOYOTA, LICENSE AGREEMENT TMS1002

    OK: GO to next step 

  4. CHECK HARNESS AND CONNECTOR 

    HINT:

    • Start the check from the circuit that is near the component shown by the sub-code first.
    • For details of the connectors, refer to the "TERMINALS OF ECU " .
    1. Referring to the AVC-LAN wiring diagram below, check the AVC-LAN circuit between the radio receiver and the component shown by the sub-code.
      1. Check for an open or short in the AVC-LAN circuit between the radio receiver and the component shown by the sub-code.

        OK: 

        There is no open or short circuit. 

        Fig 3: AVC-LAN Wiring Diagram
        G05184733Courtesy of © TOYOTA, LICENSE AGREEMENT TMS1002

        NG: REPAIR OR REPLACE HARNESS OR CONNECTOR 

        OK: GO to next step 

  5. REPLACE COMPONENT SHOWN BY SUB-CODE 
    1. Replace the component shown by the sub-code with a normal one and check if the same problem occurs again.

      OK: 

      Same problem does not occur. 

      NG: REPLACE TELEVISION DISPLAY ASSEMBLY 

      OK: END