LEMON Manuals: Even more car manuals for everyone: 1960-2025
Home >> Toyota >> 2004 >> Matrix Base, FWD, Automatic >> Repair and Diagnosis >> External Pages >> Different variant/trim >> Section 14 (Manual Trans) >> Manual Transaxle ASSY (C60) >> Overhaul
April 5, 2026: LEMON Manuals is launched! Read the announcement.

Manual Transaxle ASSY (C60): Overhaul

WARNING: This page is about a different variant/trim than selected.
  1. REMOVE SPEEDOMETER DRIVEN HOLE COVER SUB-ASSY 
    1. Remove the bolt and speedometer driven hole cover sub-assy.
    2. Remove the O-ring from the speedometer driven hole cover sub-assy.
  2. REMOVE CLUTCH RELEASE FORK SUB-ASSY 
    1. Remove the clutch release fork sub-assy with clutch release bearing assy from the transaxle case.
    Fig 1: Removing Clutch Release Fork Sub-Assy
    G00921830Courtesy of © TOYOTA, LICENSE AGREEMENT TMS1002
  3. REMOVE CLUTCH RELEASE BEARING ASSY 
    1. Remove the clutch release bearing hub clip and clutch release bearing assy from the clutch release fork sub-assy.
    Fig 2: Removing Clutch Release Bearing Assy
    G00921831Courtesy of © TOYOTA, LICENSE AGREEMENT TMS1002
  4. REMOVE RELEASE FORK SUPPORT 
    1. Remove release fork support from the transaxle case.
    Fig 3: Removing Release Fork Support
    G00921832Courtesy of © TOYOTA, LICENSE AGREEMENT TMS1002
  5. REMOVE CLUTCH RELEASE FORK BOOT 
    1. Remove the clutch release fork boot from the transaxle case.
    Fig 4: Removing Clutch Release Fork Boot
    G00921833Courtesy of © TOYOTA, LICENSE AGREEMENT TMS1002
  6. REMOVE FLOOR SHIFT CONTROL LEVER HOUSING SUPPORT BRACKET 
    1. Remove the 3 bolts and floor shift control lever housing support bracket from the transaxle case.
    Fig 5: Removing Floor Shift Control Lever Housing Support Bracket
    G00921834Courtesy of © TOYOTA, LICENSE AGREEMENT TMS1002
  7. REMOVE SELECTING BELL CRANK ASSY 
    1. Remove the 2 bolts and selecting bellcrank assy from the manual transmission case.
    Fig 6: Removing Selecting Bell Crank Assy
    G00921835Courtesy of © TOYOTA, LICENSE AGREEMENT TMS1002
  8. FIX MANUAL TRANSAXLE ASSY 
    1. Using wooden blocks, fix the manual transaxle assy.
    Fig 7: Fixing Manual Transaxle Assy
    G00921836Courtesy of © TOYOTA, LICENSE AGREEMENT TMS1002
  9. REMOVE MANUAL TRANSMISSION FILLER PLUG 
    1. Remove the manual transmission filler plug and gasket from the manual transmission case cover.
    Fig 8: Removing Manual Transmission Filler Plug
    G00921837Courtesy of © TOYOTA, LICENSE AGREEMENT TMS1002
  10. REMOVE DRAIN (MTM) PLUG SUB-ASSY 
    1. Remove the drain (MTM) plug sub-assy and gasket from the manual transmission case.
    Fig 9: Removing Drain Plug Sub-Assy
    G00921838Courtesy of © TOYOTA, LICENSE AGREEMENT TMS1002
  11. REMOVE MANUAL TRANSMISSION CASE COVER SUB-ASSY 
    1. Remove the 9 bolts.
      Fig 10: Removing Manual Transmission Case Cover Sub-Assy Bolts
      G00921839Courtesy of © TOYOTA, LICENSE AGREEMENT TMS1002
    2. Using a brass bar and a hammer, remove the manual transmission case cover sub-assy.
    NOTE: Do not damage the manual transmission case cover sub-assy.
    Fig 11: Removing Manual Transmission Case Cover Sub-Assy
    G00921840Courtesy of © TOYOTA, LICENSE AGREEMENT TMS1002
  12. INSPECT 6TH GEAR THRUST CLEARANCE 
    1. Using a feeler gauge, measure the 6th gear thrust clearance.
      1. Standard clearance:0.10 - 0.60 mm (0.0039 - 0.0236 in.) 
    Fig 12: Measuring 6th Gear Thrust Clearance
    G00921841Courtesy of © TOYOTA, LICENSE AGREEMENT TMS1002
  13. INSPECT 5TH GEAR THRUST CLEARANCE 
    1. Using a dial indicator, measure the 5th gear thrust clearance.
      1. Standard clearance:0.10-0.62 mm (0.0039-0.0244 in.) 
    Fig 13: Measuring 5th Gear Thrust Clearance
    G00921842Courtesy of © TOYOTA, LICENSE AGREEMENT TMS1002
  14. INSPECT 6TH GEAR RADIAL CLEARANCE 
    1. Using a dial indicator, measure the 6th gear radial clearance.
      1. Standard clearance:0.009-0.050 mm (0.0004-0.0020 in.) 

    If the clearance is out of the specification, replace the 6th gear needle roller bearing.

    Fig 14: Measuring 6th Gear Radial Clearance
    G00921843Courtesy of © TOYOTA, LICENSE AGREEMENT TMS1002
  15. INSPECT 5TH GEAR RADIAL CLEARANCE 
    1. Using a dial indicator, measure the 5th gear radial clearance.
      1. Standard clearance:0.015-0.056 mm (0.0006-0.0022 in.) 

      If the clearance is out of specification, replace the 5th gear needle roller bearing.

    Fig 15: Measuring 5th Gear Radial Clearance
    G00921844Courtesy of © TOYOTA, LICENSE AGREEMENT TMS1002
  16. REMOVE COUNTER GEAR 6TH 
    1. Using 2 screwdrivers and a hammer, remove the output shaft RR snap ring from the output shaft.
      NOTE: Using a waste to prevent the snap ring from the being scattered.
      Fig 16: Removing Output Shaft RR Snap Ring
      G00921845Courtesy of © TOYOTA, LICENSE AGREEMENT TMS1002
    2. Using SST, remove output shaft RR bearing with 6th counter gear from the output shaft.

      SST 09950-40011 (09951-04010, 09952-04010, 09953-04020, 09954-04010, 09955-04021, 09957-04010, 09958-04011), 09950-60010 (09951-00190)

    Fig 17: Removing Counter Gear 6th
    G00921846Courtesy of © TOYOTA, LICENSE AGREEMENT TMS1002
  17. REMOVE OUTPUT GEAR SPACER 
    1. Remove the output gear spacer from the output shaft.
    Fig 18: Removing Output Gear Spacer
    G00921847Courtesy of © TOYOTA, LICENSE AGREEMENT TMS1002
  18. REMOVE 6TH GEAR SUB-ASSY 
    1. Using 2 screwdrivers and a hammer, remove the input shaft snap ring from the input shaft.
      NOTE: Using a waste to prevent the snap ring from the being scattered.
      Fig 19: Removing Input Shaft Snap Ring
      G00921848Courtesy of © TOYOTA, LICENSE AGREEMENT TMS1002
    2. Using SST, remove the input shaft radial ball bearing RR with 6th gear sub-assy from the input shaft.

      SST 09950-40011 (09951-04010, 09952-04010, 09953-04020, 09954-04010, 09955-04021, 09957-04010, 09958-04011)

    Fig 20: Removing 6th Gear Sub-Assy
    G00921849Courtesy of © TOYOTA, LICENSE AGREEMENT TMS1002
  19. REMOVE 6TH GEAR NEEDLE ROLLER BEARING 
    1. Remove 6th gear needle roller bearing from the input shaft.
    Fig 21: Removing 6th Gear Needle Roller Bearing
    G00921850Courtesy of © TOYOTA, LICENSE AGREEMENT TMS1002
  20. REMOVE SYNCHRONIZER RING NO. 3 (FOR 6TH GEAR MT) 
    1. Remove the synchronizer ring No. 3 from the input shaft.
    Fig 22: Removing Synchronizer Ring No. 3 (For 6th Gear MT)
    G00921851Courtesy of © TOYOTA, LICENSE AGREEMENT TMS1002
  21. REMOVE TRANSMISSION CLUTCH HUB NO. 3 
    1. Remove the 6th gear spacer.
    2. Using 2 screwdrivers and a hammer, remove the transmission clutch hub No. 3 shaft snap ring from the input shaft.
      NOTE: Using a waste to prevent the snap ring from the being scattered.
      Fig 23: Removing Transmission Clutch Hub No. 3 Shaft Snap Ring
      G00921852Courtesy of © TOYOTA, LICENSE AGREEMENT TMS1002
    3. Remove the shift fork lock bolt from the shift fork No. 3.
      Fig 24: Removing Shift Fork Lock Bolt From Shift Fork No. 3
      G00921853Courtesy of © TOYOTA, LICENSE AGREEMENT TMS1002
    4. Using SST, remove the transmission clutch hub No. 3 with gear shift fork No. 3 from the input shaft.

      SST 09950-30012 (09951-03010, 09953-03010, 09957-04010), 09950-50013 (09954-05040)

    Fig 25: Removing Transmission Clutch Hub No. 3
    G00921854Courtesy of © TOYOTA, LICENSE AGREEMENT TMS1002
  22. REMOVE SYNCHRONIZER RING NO. 3 (FOR 5TH GEAR MT) 
    1. Remove the synchronizer ring No. 3 from the 5th gear.
    Fig 26: Removing Synchronizer Ring No. 3 (For 5th Gear MT)
    G00921855Courtesy of © TOYOTA, LICENSE AGREEMENT TMS1002
  23. REMOVE 5TH GEAR 
    1. Remove the 5th gear from the input shaft.
    Fig 27: Removing 5th Gear
    G00921856Courtesy of © TOYOTA, LICENSE AGREEMENT TMS1002
  24. REMOVE 5TH GEAR NEEDLE ROLLER BEARING 
    1. Using 2 screwdrivers and a hammer, remove the transmission clutch hub No. 3 shaft snap ring from the input shaft.
      NOTE: Use a rag to prevent the snap ring from the being scattered.
      Fig 28: Removing Transmission Clutch Hub No. 3 Shaft Snap Ring
      G00921857Courtesy of © TOYOTA, LICENSE AGREEMENT TMS1002
    2. Remove the 5th gear needle roller bearing and 2 5th gear bearing spacers from the input shaft.
    Fig 29: Removing 5th Gear Needle Roller Bearing
    G00921858Courtesy of © TOYOTA, LICENSE AGREEMENT TMS1002
  25. REMOVE 5TH DRIVEN GEAR 
    1. Using SST, remove the 5th driven gear from the output shaft.

      SST 09950-30012 (09951-03010, 09953-03010, 09954-03010, 09955-03011, 09957-04010), 09950-60010 (09951-00190)

    Fig 30: Removing 5th Driven Gear
    G00921859Courtesy of © TOYOTA, LICENSE AGREEMENT TMS1002
  26. REMOVE SHIFT FORK SHAFT SNAP RING 
    1. Using 2 screwdrivers and a hammer, remove the shift fork shaft snap ring from the shift fork shaft No. 2.
      NOTE: Using a waste to prevent the snap ring from the being scattered.
    Fig 31: Removing Shift Fork Shaft Snap Ring
    G00921860Courtesy of © TOYOTA, LICENSE AGREEMENT TMS1002
  27. REMOVE BEARING RETAINER REAR (MTM) 
    1. Remove the 5 bolts and bearing retainer rear (MTM) from the manual transmission case.
    Fig 32: Removing Bearing Retainer Rear
    G00921861Courtesy of © TOYOTA, LICENSE AGREEMENT TMS1002
  28. REMOVE LOCK BALL ASSY NO. 1 
    1. Remove the lock ball assy No. 1 from the manual transmission case.
    Fig 33: Removing Lock Ball Assy No. 1
    G00921862Courtesy of © TOYOTA, LICENSE AGREEMENT TMS1002
  29. REMOVE SHIFT & SELECT LEVER SHAFT ASSY 
    1. Remove the 4 bolts and shift & select lever shaft assy and gasket from the manual transmission case.
    Fig 34: Removing Shift & Select Lever Shaft Assy
    G00921863Courtesy of © TOYOTA, LICENSE AGREEMENT TMS1002
  30. REMOVE BACK UP LAMP SWITCH ASSY 
    1. Using SST, remove the back up lamp switch assy and gasket from the manual transmission case.

      SST 09817-16011

    Fig 35: Removing Back Up Lamp Switch Assy
    G00921864Courtesy of © TOYOTA, LICENSE AGREEMENT TMS1002
  31. REMOVE SHIFT DETENT BALL 
    1. Using a socket hexagon wrench 6, remove the 2 shift detent ball plugs from the manual transmission case.
      Fig 36: Removing Shift Detent Ball Plugs
      G00921865Courtesy of © TOYOTA, LICENSE AGREEMENT TMS1002
    2. Using a magnetic finger, remove the 2 shift detent ball spring seats, 2 shift detent ball compression springs and 2 shift detent balls from the manual transmission case.
    Fig 37: Removing Spring Seats, Springs And Shift Detent Balls
    G00921866Courtesy of © TOYOTA, LICENSE AGREEMENT TMS1002
  32. REMOVE OUTPUT SHAFT REAR BEARING HOLE SNAP RING 
    1. Using a snap ring expander, remove the output shaft rear bearing hole snap ring from the output shaft.
    Fig 38: Removing Output Shaft Rear Bearing Hole Snap Ring
    G00921867Courtesy of © TOYOTA, LICENSE AGREEMENT TMS1002
  33. REMOVE INPUT SHAFT REAR BEARING HOLE SNAP RING 
    1. Using a snap ring expander, remove the input shaft rear bearing hole snap ring.
    Fig 39: Removing Input Shaft Rear Bearing Hole Snap Ring
    G00921868Courtesy of © TOYOTA, LICENSE AGREEMENT TMS1002
  34. REMOVE MANUAL TRANSMISSION CASE PLUG 
    1. Using a socket hexagon wrench 6, remove the manual transmission case plug from the manual transmission case.
    Fig 40: Removing Manual Transmission Case Plug
    G00921869Courtesy of © TOYOTA, LICENSE AGREEMENT TMS1002
  35. REMOVE REVERSE IDLER GEAR SHAFT BOLT 
    1. Remove the reverse idler gear shaft bolt and gasket from the manual transmission case.
    Fig 41: Removing Reverse Idler Gear Shaft Bolt
    G00921870Courtesy of © TOYOTA, LICENSE AGREEMENT TMS1002
  36. REMOVE MANUAL TRANSMISSION CASE 
    1. Remove the 3 bolts from the transaxle case side.
      Fig 42: Removing Bolts From Transaxle Case Side
      G00921871Courtesy of © TOYOTA, LICENSE AGREEMENT TMS1002
    2. Remove the 13 bolts from manual transmission case side.
      Fig 43: Removing Bolts From Manual Transmission Case Side
      G00921872Courtesy of © TOYOTA, LICENSE AGREEMENT TMS1002
    3. Using a brass bar and a hammer, remove the manual transmission case from the transaxle case.
    Fig 44: Removing Manual Transmission Case From Transaxle Case
    G00921873Courtesy of © TOYOTA, LICENSE AGREEMENT TMS1002
  37. REMOVE OIL RECEIVER PIPE NO. 1 (MTM) 
    1. Remove the bolt and oil receiver pipe No. 1 from the manual transmission case.
    NOTE: Be careful not to damage the oil receiver pipe No. 1.
    Fig 45: Removing Oil Receiver Pipe No. 1
    G00921874Courtesy of © TOYOTA, LICENSE AGREEMENT TMS1002
  38. REMOVE OIL RECEIVER PIPE NO. 2 (MTM) 
    1. Remove the bolt and oil receiver pipe No. 2 from the manual transmission case.
    NOTE: Be careful not to damage the oil receiver pipe No. 2.
    Fig 46: Removing Oil Receiver Pipe No. 2
    G00921875Courtesy of © TOYOTA, LICENSE AGREEMENT TMS1002
  39. REMOVE 1ST GEAR THRUST WASHER PIN OR BALL 
    1. Using a socket hexagon wrench 6, remove the shift detent ball plug from the transaxle case.
      Fig 47: Removing The Shift Detent Ball Plug
      G00921876Courtesy of © TOYOTA, LICENSE AGREEMENT TMS1002
    2. Using a magnetic finger, remove the shift detent ball spring seat, shift detent ball compression spring and shift detent ball from the transaxle case.
    Fig 48: Removing 1st Gear Thrust Washer Pin Or Ball
    G00921877Courtesy of © TOYOTA, LICENSE AGREEMENT TMS1002
  40. REMOVE GEAR SHIFT FORK SHAFT SUB-ASSY NO. 1 
    1. Using 2 screwdrivers and a hammer, remove shaft snap ring.
      NOTE: Using a waste to prevent the snap ring from the being scattered.
      Fig 49: Removing Shaft Snap Ring
      G00921878Courtesy of © TOYOTA, LICENSE AGREEMENT TMS1002
    2. Remove the gear shift fork lock bolt and gear shift fork shaft sub-assy No. 1.
    Fig 50: Removing Gear Shift Fork Shaft Sub-Assy No. 1
    G00921879Courtesy of © TOYOTA, LICENSE AGREEMENT TMS1002
  41. REMOVE GEAR SHIFT FORK SHAFT NO. 3 
    1. Remove the shift fork shaft No. 3 from the transaxle case.
      Fig 51: Removing Gear Shift Fork Shaft No. 3
      G00921880Courtesy of © TOYOTA, LICENSE AGREEMENT TMS1002
    2. Using 2 screwdrivers and a hammer, remove the shaft snap ring from the shift fork shaft No. 3.
    NOTE: Using a waste to prevent the snap ring from the being scattered.
    Fig 52: Removing Shaft Snap Ring
    G00921881Courtesy of © TOYOTA, LICENSE AGREEMENT TMS1002
  42. REMOVE GEAR SHIFT FORK SHAFT NO. 2 
    1. Remove the 2 gear shift fork lock bolts from the gear shift fork No. 2 and gear shift head No. 1.
      Fig 53: Removing Gear Shift Fork Lock Bolts
      G00921882Courtesy of © TOYOTA, LICENSE AGREEMENT TMS1002
    2. Remove the gear shift fork shaft No. 2, gear shift fork No. 2, gear shift fork No. 1, gear shift head No. 1 and reverse shift fork.
    Fig 54: Removing Gear Shift Fork Shaft No. 2
    G00921883Courtesy of © TOYOTA, LICENSE AGREEMENT TMS1002
  43. REMOVE REVERSE IDLER GEAR SUB-ASSY 
    1. Remove the reverse idler gear shaft, thrust washer and reverse idler gear sub-assy from the transaxle case.
    Fig 55: Removing Reverse Idler Gear Sub-Assy
    G00921884Courtesy of © TOYOTA, LICENSE AGREEMENT TMS1002
  44. REMOVE INPUT SHAFT ASSY 
    1. Remove the input shaft assy with output shaft assy from the transaxle case.
    Fig 56: Removing Input Shaft Assy
    G00921885Courtesy of © TOYOTA, LICENSE AGREEMENT TMS1002
  45. REMOVE REVERSE SHIFT ARM BRACKET ASSY 
    1. Remove the 2 bolts and reverse shift arm bracket assy from the transaxle case.
    Fig 57: Removing Reverse Shift Arm Bracket Assy
    G00921886Courtesy of © TOYOTA, LICENSE AGREEMENT TMS1002
  46. REMOVE DIFFERENTIAL CASE ASSY 
    1. Remove the differential case assy from the transaxle case.
    Fig 58: Removing Differential Case Assy
    G00921887Courtesy of © TOYOTA, LICENSE AGREEMENT TMS1002
  47. REMOVE MANUAL TRANSAXLE CASE RECEIVER 
    1. Remove the bolt and manual transaxle case receiver from the transaxle case.
    Fig 59: Removing Manual Transaxle Case Receiver
    G00921888Courtesy of © TOYOTA, LICENSE AGREEMENT TMS1002
  48. REMOVE BEARING LOCK PLATE 
    1. Remove the bolt and bearing lock plate from the transaxle case.
    Fig 60: Removing Bearing Lock Plate
    G00921889Courtesy of © TOYOTA, LICENSE AGREEMENT TMS1002
  49. REMOVE TRANSMISSION MAGNET 
    1. Remove the transmission magnet from the transaxle case.
    Fig 61: Removing Transmission Magnet
    G00921890Courtesy of © TOYOTA, LICENSE AGREEMENT TMS1002
  50. REMOVE INPUT SHAFT FRONT BEARING 
    1. Using SST, remove the input shaft front bearing (outer race) from the transaxle case.

      SST 09612-24014 (09613-22011)

    Fig 62: Removing Input Shaft Front Bearing
    G00921891Courtesy of © TOYOTA, LICENSE AGREEMENT TMS1002
  51. REMOVE FRONT TRANSAXLE CASE OIL SEAL 
    1. Using SST, remove the front transaxle case oil seal from the transaxle case.

      SST 09612-65014 (09612-01040, 09612-01050)

    Fig 63: Removing Front Transaxle Case Oil Seal
    G00921892Courtesy of © TOYOTA, LICENSE AGREEMENT TMS1002
  52. REMOVE OUTPUT SHAFT FRONT BEARING 
    1. Using SST, remove the output shaft front bearing from the transaxle case.

      SST 09308-00010

    NOTE: Do not apply unreasonable force to the transaxle case when installing it.
    Fig 64: Removing Output Shaft Front Bearing
    G00921893Courtesy of © TOYOTA, LICENSE AGREEMENT TMS1002
  53. REMOVE FR DIFFERENTIAL CASE REAR TAPERED ROLLER BEARING 
    1. Using SST, remove the front differential case rear tapered roller bearing (outer race) and shim from manual transmission case.

      SST 09612-65014 (09612-01040, 09612-01050)

      Fig 65: Removing Front Differential Case Rear Tapered Roller Bearing (Outer Race)
      G00921894Courtesy of © TOYOTA, LICENSE AGREEMENT TMS1002
    2. Using SST, remove the FR differential case rear tapered roller bearing (inner race) from the front differential case.

      SST 09612-65014 (09612-01040, 09612-01050), 09950-40011 (09951-00390, 09951-04010, 09952-04010, 09953-04020, 09954-04010, 09955-04061, 09957-04010, 09958-04011), 09950-60010

    Fig 66: Removing Front Differential Case Rear Tapered Roller Bearing (Inner Race)
    G00921895Courtesy of © TOYOTA, LICENSE AGREEMENT TMS1002
  54. REMOVE TRANSMISSION CASE OIL SEAL 
    1. Using SST and a hammer, remove transmission case oil seal from the manual transmission case.

      SST 09950-60010 (09951-00530), 09950-70010 (09951-07150)

    Fig 67: Removing Transmission Case Oil Seal
    G00921896Courtesy of © TOYOTA, LICENSE AGREEMENT TMS1002
  55. REMOVE FR DIFFERENTIAL CASE FRONT TAPERED ROLLER BEARING 
    1. Using SST, remove the front differential case front tapered roller bearing (outer race) and front differential case washer FR from the transaxle case.

      SST 09612-65014 (09612-01040, 09612-01050)

      Fig 68: Removing Front Differential Case Front Tapered Roller Bearing (Outer Race)
      G00921897Courtesy of © TOYOTA, LICENSE AGREEMENT TMS1002
    2. Using SST, remove the FR differential case front tapered roller bearing (inner race) from the front differential case.

      SST 09950-00020, 09950-00030, 09950-40011 (09957-04010), 09950-60010 (09951-00390)

    Fig 69: Removing Front Differential Case Front Tapered Roller Bearing (Inner Race)
    G00921898Courtesy of © TOYOTA, LICENSE AGREEMENT TMS1002
  56. REMOVE TRANSAXLE CASE OIL SEAL 
    1. Using SST and a hammer, remove transaxle case oil seal from the transaxle case.

      SST 09950-60010 (09951-00600), 09950-70010 (09951-07100)

    Fig 70: Removing Transaxle Case Oil Seal
    G00921899Courtesy of © TOYOTA, LICENSE AGREEMENT TMS1002
  57. REMOVE OUTPUT SHAFT (MTM) COVER 
    1. Remove the output (MTM) shaft cover from the transaxle case.
    Fig 71: Removing Output Shaft Cover
    G00921900Courtesy of © TOYOTA, LICENSE AGREEMENT TMS1002
  58. REMOVE TRANSMISSION HUB SLEEVE NO. 3 
    1. Remove the transmission hub sleeve No. 3, 3 synchromesh shifting key No. 3 and 2 synchromesh shifting key spring No. 3.
    NOTE: Using a waste to prevent the synchromesh shifting key and spring from the being scattered.
    Fig 72: Removing Transmission Hub Sleeve No. 3
    G00921901Courtesy of © TOYOTA, LICENSE AGREEMENT TMS1002
  59. INSPECT TRANSMISSION HUB SLEEVE NO. 3 
    1. Check the sliding condition between the transmission hub sleeve No. 3 and transmission clutch hub No. 3.
    2. Check that spline gears of the transmission hub sleeve No. 3 is not worn down.
      Fig 73: Inspecting Transmission Hub Sleeve No. 3 (1 Of 2)
      G00921902Courtesy of © TOYOTA, LICENSE AGREEMENT TMS1002
    3. Using a vernier calipers, inspect the transmission hub sleeve No. 3 and gear shift fork No. 3 as shown in Fig 74 .
      1. Standard clearance:0.31-0.89 mm (0.0122-0.035 in. 

    If the clearance out of specification, replace the transmission hub sleeve No. 3 and gear shift fork No. 3.

    Fig 74: Inspecting Transmission Hub Sleeve No. 3 (2 Of 2)
    G00921903Courtesy of © TOYOTA, LICENSE AGREEMENT TMS1002
  60. INSPECT SYNCHRONIZER RING NO. 3 (FOR 6TH GEAR MT) 
    1. Check for wear of damage.
    2. Check the braking effect of the synchronizer ring. Turn the synchronizer ring in one direction while pushing it to the gear cone, check that the ring locks.
      Fig 75: Inspecting Synchronizer Ring No. 3 (For 6th Gear MT)
      G00921904Courtesy of © TOYOTA, LICENSE AGREEMENT TMS1002
    3. Using a feeler gauge, measure the clearance between the synchronizer ring back and gear spline end.
      1. Standard clearance:0.75-1.65 mm (0.0295-0.065 in.) 

    If the clearance is out of specification, replace the synchronizer ring No. 3.

    Fig 76: Measuring Clearance Between Synchronizer Ring Back And Gear Spline End
    G00921905Courtesy of © TOYOTA, LICENSE AGREEMENT TMS1002
  61. INSPECT 6TH GEAR SUB-ASSY 
    1. Using a caliper gauge, inspect the 6th gear inner diameter.
    Fig 77: 6th Gear Inner Diameter Specifications
    G00921906Courtesy of © TOYOTA, LICENSE AGREEMENT TMS1002

    Inner diameter: 

    Fig 78: Inspecting 6th Gear Inner Diameter
    G00921907Courtesy of © TOYOTA, LICENSE AGREEMENT TMS1002

    If the clearance is exceeds the maximum, replace the 6th gear sub-assy.

  62. INSPECT SYNCHRONIZER RING NO. 3 (FOR 5TH GEAR MT) 
    1. Check the braking effect of the synchronizer ring.

      Turn the synchronizer ring in one direction while pushing it to the gear cone, check that the ring locks.

      Fig 79: Inspecting Synchronizer Ring No. 3 (For 5th Gear MT)
      G00921908Courtesy of © TOYOTA, LICENSE AGREEMENT TMS1002
    2. Using a feeler gauge, measure the clearance between the synchronizer ring back and 5th gear spline end.
      1. Standard clearance:0.75-1.65 mm (0.0295-0.0650 in.) 

    If the clearance is out of specification, replace the synchronizer ring No. 3.

    Fig 80: Measuring Clearance Between Synchronizer Ring Back And 5th Gear Spline End
    G00921909Courtesy of © TOYOTA, LICENSE AGREEMENT TMS1002
  63. INSPECT 5TH GEAR 
    1. Using a caliper gauge, inspect the 5th gear inner diameter.

    Inner diameter: 

    Fig 81: 5th Gear Inner Diameter Specifications
    G00921910Courtesy of © TOYOTA, LICENSE AGREEMENT TMS1002

    If the inner diameter is exceeds the maximum, replace the 5th gear.

    Fig 82: Inspecting 5th Gear Inner Diameter
    G00921911Courtesy of © TOYOTA, LICENSE AGREEMENT TMS1002
  64. INSPECT REVERSE IDLER GEAR SUB-ASSY 
    1. Using a caliper gauge, inspect the reverse idler gear sub-assy as shown in Fig 85 .

      Inner diameter: 

      Fig 83: Reverse Idler Gear Inner Diameter Specifications
      G00921912Courtesy of © TOYOTA, LICENSE AGREEMENT TMS1002

      If the inner diameter is exceeds the maximum, replace the reverse idler gear sub-assy.

    2. Using a micrometer, inspect the reverse idler gear shaft as shown in Fig 85 .

    Outer diameter: 

    Fig 84: Reverse Idler Gear Outer Diameter Specifications
    G00921913Courtesy of © TOYOTA, LICENSE AGREEMENT TMS1002

    If the outer diameter is exceeds the minimum, replace the reverse idler gear shaft.

    Fig 85: Inspecting Reverse Idler Gear Sub-Assy
    G00921914Courtesy of © TOYOTA, LICENSE AGREEMENT TMS1002
  65. INSTALL TRANSMISSION HUB SLEEVE NO. 3 
    1. Coat the transmission hub sleeve No. 3 with gear oil, install it to the transmission clutch hub No. 3.
      NOTE: Do not set the transmission clutch hub No. 3 in incorrect orientation.
    2. Using a screwdriver, install the 2 synchromesh shifting key spring No. 3 and 3 synchromesh shifting key No. 3.
    NOTE: Do not set both openings of the shifting key spring in the same position.
    Fig 86: Installing Transmission Hub Sleeve No. 3
    G00921915Courtesy of © TOYOTA, LICENSE AGREEMENT TMS1002
  66. INSTALL OUTPUT SHAFT (MTM) COVER 
    1. Coat the output shaft (MTM) cover with MP grease, install it to the transaxle case.
    Fig 87: Installing Output Shaft Cover
    G00921916Courtesy of © TOYOTA, LICENSE AGREEMENT TMS1002
  67. INSTALL TRANSAXLE CASE OIL SEAL 
    1. Using SST and a hammer, install the transaxle case oil seal No. 2 to the transaxle case.

      SST 09726-27012 (09726-02041), 09950-70010 (09951-07100)

      1. Driven in depth: 1.9 +/- 0.3 mm (0.075 +/- 0.012 in.) 
    Fig 88: Installing Transaxle Case Oil Seal
    G00921917Courtesy of © TOYOTA, LICENSE AGREEMENT TMS1002
  68. INSTALL FR DIFFERENTIAL CASE FRONT TAPERED ROLLER BEARING 
    1. Using SST and a press, install FR differential case front tapered roller bearing (inner race) to the front differential case.

      SST 09350-32014 (09351-32120), 09950-60010 (09951-00530)

      Fig 89: Installing FR Differential Case Front Tapered Roller Bearing (Inner Race)
      G00921918Courtesy of © TOYOTA, LICENSE AGREEMENT TMS1002
    2. Using SST and a press, install the FR differential case front bearing spacer and FR differential case front tapered roller bearing (outer race) to the transaxle case.

      SST 09950-60020 (09951-00680), 09950-70010 (09951-07150)

    Fig 90: Installing FR Differential Case Front Tapered Roller Bearing (Outer Race)
    G00921919Courtesy of © TOYOTA, LICENSE AGREEMENT TMS1002
  69. INSTALL FR DIFFERENTIAL CASE REAR TAPERED ROLLER BEARING 
    1. Using SST and a press, install the FR differential case rear tapered roller bearing (inner race) to the front differential case.

      SST 09350-32014 (09351-32120), 09950-60010 (09951-00530)

      Fig 91: Installing FR Differential Case Front Tapered Roller Bearing (Inner Race)
      G00921920Courtesy of © TOYOTA, LICENSE AGREEMENT TMS1002
    2. Using SST and a press, install the front differential case shim RR and FR differential case rear tapered roller bearing (outer race) to the manual transmission case.

      SST 09309-36010, 09950-60020 (09951-00710), 09950-70010 (09951-07150)

    NOTE:

    Use a front differential case shim RR of the same thickness with the remove one.

    Fig 92: Installing FR Differential Case Front Tapered Roller Bearing (Outer Race)
    G00921921Courtesy of © TOYOTA, LICENSE AGREEMENT TMS1002
  70. INSTALL OUTPUT SHAFT FRONT BEARING 
    1. Coat the new output shaft front bearing with gear oil, using SST and a press, install it to the transaxle case.

      SST 09950-60010 (09951-00550), 09950-70010 (09951-07150)

    Fig 93: Installing Output Shaft Front Bearing
    G00921922Courtesy of © TOYOTA, LICENSE AGREEMENT TMS1002
  71. ADJUST DIFFERENTIAL SIDE BEARING PRELOAD 
    1. Coat the differential case assy with gear oil, install it to the transaxle case.
    2. Install the manual transmission case with 16 bolts.
      1. Torque: 29.4 N.m (300 kgf.cm, 22 ft.lbf) 
      Fig 94: Installing Differential Case Assy
      G00921923Courtesy of © TOYOTA, LICENSE AGREEMENT TMS1002
    3. Using SST and a torque wrench, turn the deferential case assy right and left 2 or 3 times to allow the bearings to settle.

      SST 09564-32011

      Fig 95: Adjusting Differential Side Bearing Preload
      G00921924Courtesy of © TOYOTA, LICENSE AGREEMENT TMS1002
    4. Using SST and a torque wrench, measure the preload.

      SST 09564-32011

      Fig 96: Preload Specifications
      G00921925Courtesy of © TOYOTA, LICENSE AGREEMENT TMS1002

      Preload: 

      Fig 97: Measuring Preload
      G00921926Courtesy of © TOYOTA, LICENSE AGREEMENT TMS1002

      If the preload is out of the specification, select the front differential case shim RR adjust it.

      NOTE:

      Shim thickness: 

      Fig 98: Shim Thickness Specifications
      G00921927Courtesy of © TOYOTA, LICENSE AGREEMENT TMS1002
    5. Remove the 16 bolts and manual transmission case.
    6. Remove the differential case assy from the transaxle case.
  72. INSTALL FRONT TRANSAXLE CASE OIL SEAL 
    1. Using SST and a hammer, install a new front transaxle case oil seal to the transaxle case.

      SST 09950-60010 (09951-00370), 09950-70010 (09951-07150)

      1. Driven in depth: 15.6 - 16.0 mm (0.6142 - 0.6299 in.) 
    2. Coat the lip of the front transaxle case oil seal with MP grease.
    Fig 99: Installing Front Transaxle Case Oil Seal
    G00921928Courtesy of © TOYOTA, LICENSE AGREEMENT TMS1002
  73. INSTALL INPUT SHAFT FRONT BEARING 
    1. Coat new input shaft front bearing with MP grease, using SST and a press, install it to the transaxle case.

      SST 09950-60010 (09951-00420), 09950-70010 (09951-07150)

      1. Driven in depth: 0 - 0.30 mm (0 - 0.0118 in.) 
    Fig 100: Installing Input Shaft Front Bearing
    G00921929Courtesy of © TOYOTA, LICENSE AGREEMENT TMS1002
  74. INSTALL TRANSMISSION MAGNET 
    1. Clean the transmission magnet, install it to the transaxle case.
    Fig 101: Installing Transmission Magnet
    G00921930Courtesy of © TOYOTA, LICENSE AGREEMENT TMS1002
  75. INSTALL BEARING LOCK PLATE 
    1. Install the bearing lock plate with bolt to the transaxle case.
      1. Torque: 11.3 N.m (115 kgf.cm, 8 ft.lbf) 
    Fig 102: Installing Bearing Lock Plate
    G00921931Courtesy of © TOYOTA, LICENSE AGREEMENT TMS1002
  76. INSTALL MANUAL TRANSAXLE CASE RECEIVER 
    1. Install the manual transaxle case receiver with bolt to the transaxle case.
      1. Torque: 11.3 N.m (115 kgf.cm, 8 ft.lbf) 
    Fig 103: Installing Manual Transaxle Case Receiver
    G00921932Courtesy of © TOYOTA, LICENSE AGREEMENT TMS1002
  77. INSTALL DIFFERENTIAL CASE ASSY 
    1. Coat the differential case tapered roller bearing with gear oil, install the differential case assy to the transaxle case.
    Fig 104: Installing Differential Case Assy
    G00921933Courtesy of © TOYOTA, LICENSE AGREEMENT TMS1002
  78. INSTALL REVERSE SHIFT ARM BRACKET ASSY 
    1. Install the reverse shift arm bracket assy with 2 bolts to the transaxle case.
      1. Torque: 17.2 N.m (175 kgf.cm, 13 ft.lbf) 
    Fig 105: Installing Reverse Shift Arm Bracket Assy
    G00921934Courtesy of © TOYOTA, LICENSE AGREEMENT TMS1002
  79. INSTALL INPUT SHAFT ASSY 
    1. Coat the sliding and rotating surface of the input and output shafts with gear oil, install them to the transaxle case.
    Fig 106: Installing Input Shaft Assy
    G00921935Courtesy of © TOYOTA, LICENSE AGREEMENT TMS1002
  80. INSTALL REVERSE IDLER GEAR SUB-ASSY 
    1. Coat the reverse idler gear sub-assy, thrust washer and reverse idler gear shaft with gear oil, install them to the transaxle case.
    NOTE:

    Align the mark on the reverse idler gear shaft with the bolt hole shown in Fig 107 .

    Fig 107: Installing Reverse Idler Gear Sub-Assy
    G00921936Courtesy of © TOYOTA, LICENSE AGREEMENT TMS1002
  81. INSTALL GEAR SHIFT FORK SHAFT NO. 2 
    1. Coat the gear shift fork No. 2 and gear shift fork No. 1 with gear oil, install them to the input and output shafts.
      Fig 108: Installing Gear Shift Fork Shaft No. 2 (1 Of 3)
      G00921937Courtesy of © TOYOTA, LICENSE AGREEMENT TMS1002
    2. Coat the gear shift fork shaft No. 2 with gear oil, install the gear shift head No. 1, reverse shift fork and gear shift fork shaft No. 2.
      Fig 109: Installing Gear Shift Fork Shaft No. 2 (2 Of 3)
      G00921938Courtesy of © TOYOTA, LICENSE AGREEMENT TMS1002
    3. Coat the 2 shift lock bolts with sealant, install them to the gear shift fork No. 2 and gear shift head No. 1.
    1. Sealant: Part No. 08833-00080, THREE BOND 1344, LOCTITE 242 or equivalent 
    1. Torque: 15.7 N.m (160 kgf.cm, 12 ft.lbf) 
    Fig 110: Installing Gear Shift Fork Shaft No. 2 (3 Of 3)
    G00921939Courtesy of © TOYOTA, LICENSE AGREEMENT TMS1002
  82. INSTALL GEAR SHIFT FORK SHAFT NO. 3 
    1. Using a brass bar and a hammer, install the shaft snap ring to the gear shift fork shaft No. 3.
      Fig 111: Installing Shaft Snap Ring To Gear Shift Fork Shaft No. 3
      G00921940Courtesy of © TOYOTA, LICENSE AGREEMENT TMS1002
    2. Coat the gear shift fork shaft No. 3 with gear oil, install it to the transaxle case.
    Fig 112: Installing Gear Shift Fork Shaft No. 3
    G00921941Courtesy of © TOYOTA, LICENSE AGREEMENT TMS1002
  83. INSTALL GEAR SHIFT FORK SHAFT SUB-ASSY NO. 1 
    1. Coat the gear shift fork shaft sub-assy No. 1 with gear oil, install it to the transaxle case.
    2. Coat the shift fork lock bolt with sealant, install it to the gear shift fork No. 1.
      1. Sealant: Part No. 08833-00080, THREE BOND 1344, LOCTITE 242 or equivalent 
      1. Torque: 15.7 N.m (160 kgf.cm, 12 ft.lbf) 
      Fig 113: Installing Shift Fork Lock Bolt
      G00921942Courtesy of © TOYOTA, LICENSE AGREEMENT TMS1002
    3. Using a brass bar and a hammer, install shaft snap ring.
    Fig 114: Installing Shaft Snap Ring
    G00921943Courtesy of © TOYOTA, LICENSE AGREEMENT TMS1002
  84. INSTALL 1ST GEAR THRUST WASHER PIN OR BALL 
    1. Install the shift detent ball, shift detent ball compression spring and shift detent ball spring seat to the transaxle case.
      Fig 115: Installing Shift Detent Ball, Compression Spring And Spring Seat
      G00921944Courtesy of © TOYOTA, LICENSE AGREEMENT TMS1002
    2. Coat the shift detent ball plug with sealant, using SST, install it to the transaxle case.
      1. Sealant: Part No. 08833-00080, THREE BOND 1344, LOCTITE 242 or equivalent 
      1. Torque: 24.5 N.m (250 kgf.cm, 18 ft.lbf) 
    Fig 116: Installing Shift Detent Ball Plug
    G00921945Courtesy of © TOYOTA, LICENSE AGREEMENT TMS1002
  85. INSTALL OIL RECEIVER PIPE NO. 2 (MTM) 
    1. Install the oil receiver pipe No. 2 (MTM) with bolt to the manual transmission case.
      1. Torque: 17.2 N.m (175 kgf.cm, 13 ft.lbf) 
    Fig 117: Installing Oil Receiver Pipe No. 2
    G00921946Courtesy of © TOYOTA, LICENSE AGREEMENT TMS1002
  86. INSTALL OIL RECEIVER PIPE NO. 1 (MTM) 
    1. Install the oil receiver pipe No. 1 (MTM) with bolt to the manual transmission case.
      1. Torque: 17.2 N.m (175 kgf.cm, 13 ft.lbf) 
    Fig 118: Installing Oil Receiver Pipe No. 1
    G00921947Courtesy of © TOYOTA, LICENSE AGREEMENT TMS1002
  87. INSTALL MANUAL TRANSMISSION CASE 
    1. Apply FIPG to the manual transmission case, as shown to Fig 119 .
      1. FIPG: Part No. 08826-00090, THREE BOND 1281 or equivalent 
      Fig 119: Applying FIPG To Manual Transmission Case
      G00921948Courtesy of © TOYOTA, LICENSE AGREEMENT TMS1002
      NOTE: Parts must be assembled within 10 minutes of application. Otherwise, the packing (FIPG) material must be remove and reapplied.
    2. Install the 13 bolts to the manual transmission side.
      1. Torque: 29.4 N.m (300 kgf.cm, 22 ft.lbf) 
      Fig 120: Installing Bolts To Manual Transmission Side
      G00921949Courtesy of © TOYOTA, LICENSE AGREEMENT TMS1002
    3. Install the 3 bolts to the transaxle case side.
      1. Torque: 29.4 N.m (300 kgf.cm, 22 ft.lbf) 
      Fig 121: Installing Bolts To Transaxle Case Side
      G00921950Courtesy of © TOYOTA, LICENSE AGREEMENT TMS1002
  88. INSTALL REVERSE IDLER GEAR SHAFT BOLT 
    1. Coat the reverse idler gear shaft bolt with sealant, install it with new gasket to the manual transmission case.
      1. Sealant: Part No. 08833-00080, THREE BOND 1344, LOCTITE 242 or equivalent 
      1. Torque: 29.4 N.m (300 kgf.cm, 22 ft.lbf) 
    Fig 122: Installing Reverse Idler Gear Shaft Bolt
    G00921951Courtesy of © TOYOTA, LICENSE AGREEMENT TMS1002
  89. INSTALL MANUAL TRANSMISSION CASE PLUG 
    1. Coat the transmission case plug with sealant, using socket hexagon wrench 6, install it to the manual transmission case.
      1. Sealant: Part No. 08833-00080, THREE BOND 1344, LOCTITE 242 or equivalent 
      1. Torque: 39.2 N.m (400 kgf.cm, 29 ft.lbf) 
    Fig 123: Installing Manual Transmission Case Plug
    G00921952Courtesy of © TOYOTA, LICENSE AGREEMENT TMS1002
  90. INSTALL INPUT SHAFT REAR BEARING HOLE SNAP RING 
    1. Using a snap ring expander, install the input shaft rear bearing hole snap ring to the input shaft.
    Fig 124: Installing Input Shaft Rear Bearing Hole Snap Ring
    G00921953Courtesy of © TOYOTA, LICENSE AGREEMENT TMS1002
  91. INSTALL OUTPUT SHAFT REAR BEARING HOLE SNAP RING 
    1. Using a snap ring expander, install the output shaft rear bearing hole snap ring to the output shaft.
    Fig 125: Installing Output Shaft Rear Bearing Hole Snap Ring
    G00921954Courtesy of © TOYOTA, LICENSE AGREEMENT TMS1002
  92. INSTALL TRANSMISSION CASE OIL SEAL 
    1. Using SST and a hammer, install the transmission case oil seal to the manual transmission case.

      SST 09316-60011 (09316-00011)

      1. Driven in depth: 9.9 +/- 0.3 mm (0.390-0.012 in.) 
    2. Coat the lip of the transmission case oil seal with MP grease.
    Fig 126: Installing Transmission Case Oil Seal
    G00921955Courtesy of © TOYOTA, LICENSE AGREEMENT TMS1002
  93. INSTALL SHIFT DETENT BALL 
    1. Install the 2 shift detent balls, 2 shift detent ball springs and 2 shift detent ball spring seats to the manual transmission case.
      Fig 127: Installing Shift Detent Balls, Springs And Spring Seats
      G00921956Courtesy of © TOYOTA, LICENSE AGREEMENT TMS1002
    2. Coat the 2 shift detent ball plugs with sealant, install it to the manual transmission case.
      1. Sealant: Part No. 08833-00080, THREE BOND 1344, LOCTITE 242 or equivalent 
      1. Torque: 24.5 N.m (250 kgf.cm, 18 ft.lbf) 
    Fig 128: Installing Shift Detent Ball Plugs
    G00921957Courtesy of © TOYOTA, LICENSE AGREEMENT TMS1002
  94. INSTALL BACK UP LAMP SWITCH ASSY 
    1. Using SST, install the back up lamp switch assy with a new gasket to the manual transmission case.

    SST 09817-16011

    1. Torque: 40.2 N.m (411 kgf.cm, 30 ft.lbf) 
    Fig 129: Installing Back Up Lamp Switch Assy
    G00921958Courtesy of © TOYOTA, LICENSE AGREEMENT TMS1002
  95. INSTALL SHIFT & SELECT LEVER SHAFT ASSY 
    1. Coat the shift & select lever shaft assy with gear oil.
    2. Coat the 4 bolts with sealant, install them with new gasket and shift & select lever shaft assy.

      Sealant: Part No. 08833-00080, THREE BOND 1344, LOCTITE 242 or equivalent 

      1. Torque: 19.6 N.m (200 kgf.cm, 14 ft.lbf) 
    Fig 130: Installing Shift & Select Lever Shaft Assy
    G00921959Courtesy of © TOYOTA, LICENSE AGREEMENT TMS1002
  96. INSTALL LOCK BALL ASSY NO. 1 
    1. Coat the lock ball assy No. 1 with sealant, install it to the manual transmission case.
      1. Torque: 29.4 N.m (300 kgf.cm, 22 ft.lbf) 
    Fig 131: Installing Lock Ball Assy No. 1
    G00921960Courtesy of © TOYOTA, LICENSE AGREEMENT TMS1002
  97. INSTALL BEARING RETAINER REAR (MTM) 
    1. Coat the 5 bolts with sealant, install it with bearing retainer rear to the manual transmission case.
      1. Sealant: Part No. 08833-00080, THREE BOND 1344, LOCTITE 242 or equivalent 
        1. Torque: 27.4 N.m (279 kgf.cm, 20 ft.lbf) 
      Fig 132: Installing Bearing Retainer Rear
      G00921961Courtesy of © TOYOTA, LICENSE AGREEMENT TMS1002
  98. INSTALL SHIFT FORK SHAFT SNAP RING 
    1. Using a brass bar and a hammer, install the shift fork shaft snap ring to the shift fork shaft No. 2.
    Fig 133: Installing Shift Fork Shaft Snap Ring
    G00921962Courtesy of © TOYOTA, LICENSE AGREEMENT TMS1002
  99. INSTALL 5TH DRIVEN GEAR 
    1. Using SST, install the 5th driven gear to the output shaft.

      SST 09950-30012 (09951-03010, 09953-03010, 09954-03010, 09955-03011, 09956-03080)

    Fig 134: Installing 5th Driven Gear
    G00921963Courtesy of © TOYOTA, LICENSE AGREEMENT TMS1002
  100. INSTALL OUTPUT GEAR SPACER 
    1. Install the output gear spacer to the output shaft.
    Fig 135: Installing Output Gear Spacer
    G00921964Courtesy of © TOYOTA, LICENSE AGREEMENT TMS1002
  101. INSTALL 5TH GEAR NEEDLE ROLLER BEARING 
    1. Coat the 2 5th gear bearing spacers, and 5th gear needle roller bearing with gear oil, install them to the input shaft.
      Fig 136: Installing 5th Gear Needle Roller Bearing
      G00921965Courtesy of © TOYOTA, LICENSE AGREEMENT TMS1002
    2. Using a brass bar and a hammer, install the transmission clutch hub No. 3 shaft snap ring to the input shaft.
    Fig 137: Installing Transmission Clutch Hub No. 3 Shaft Snap Ring
    G00921966Courtesy of © TOYOTA, LICENSE AGREEMENT TMS1002
  102. INSTALL 5TH GEAR 
    1. Coat the 5th gear with gear oil, install it to the input shaft.
    Fig 138: Installing 5th Gear
    G00921967Courtesy of © TOYOTA, LICENSE AGREEMENT TMS1002
  103. INSTALL SYNCHRONIZER RING NO. 3 (FOR 5TH GEAR MT) 
    1. Coat the synchronizer ring No. 3 with gear oil, install it to the 5th gear.
    Fig 139: Installing Synchronizer Ring No. 3 (For 5th Gear MT)
    G00921968Courtesy of © TOYOTA, LICENSE AGREEMENT TMS1002
  104. INSTALL TRANSMISSION CLUTCH HUB NO. 3 
    1. Using SST and a hammer, install the transmission clutch hub No. 3 with gear shift fork No. 3 to the input shaft.

      SST 09608-04031

      NOTE:
      • Before driving in the transmission clutch hub No. 3, place the suitable sized wooden block on the rear side of the input shaft, as shown in Fig 140 .
      • When driving it in, fix the input shaft rear bearing is over loaded, it might be damaged.
      Fig 140: Installing Transmission Clutch Hub No. 3
      G00921969Courtesy of © TOYOTA, LICENSE AGREEMENT TMS1002
    2. Coat the shift fork lock bolt with sealant, install it to the gear shift fork No. 3.
      1. Torque: 15.7 N.m (160 kgf.cm, 12 ft.lbf) 
      Fig 141: Installing Shift Fork Lock Bolt
      G00921970Courtesy of © TOYOTA, LICENSE AGREEMENT TMS1002
    3. Select a snap ring that will minimum axial play.
      1. Clearance: 0.1 mm (0.004 in.) or less 

      Snap ring thickness:

      Fig 142: Snap Ring Thickness Specifications (1 Of 2)
      G00921971Courtesy of © TOYOTA, LICENSE AGREEMENT TMS1002
      Fig 143: Snap Ring Thickness Specifications (2 Of 2)
      G00921973Courtesy of © TOYOTA, LICENSE AGREEMENT TMS1002
    4. Using a brass bar and a hammer, install the snap ring to the input shaft.
    Fig 144: Installing Snap Ring To Input Shaft
    G00921972Courtesy of © TOYOTA, LICENSE AGREEMENT TMS1002
  105. INSTALL COUNTER GEAR 6TH 
    1. Using SST, install the counter gear to the output shaft.

      SST 09950-30012 (09951-03010, 09953-03010, 09954-03010, 09955-03011, 09956-03080)

    Fig 145: Installing Counter Gear 6th
    G00921974Courtesy of © TOYOTA, LICENSE AGREEMENT TMS1002
  106. INSTALL SYNCHRONIZER RING NO. 3 (FOR 6TH GEAR MT) 
    1. Coat the synchronizer ring No. 3 with gear oil, install it to the transmission clutch hub No. 3.
    Fig 146: Installing Synchronizer Ring No. 3 (For 6th Gear MT)
    G00921975Courtesy of © TOYOTA, LICENSE AGREEMENT TMS1002
  107. INSTALL 6TH GEAR NEEDLE ROLLER BEARING 
    1. Coat the 6th gear needle roller bearing with gear oil, install it to the input shaft.
    Fig 147: Installing 6th Gear Needle Roller Bearing
    G00921976Courtesy of © TOYOTA, LICENSE AGREEMENT TMS1002
  108. INSTALL 6TH GEAR SUB-ASSY 
    1. Coat the 6th gear sub-assy with gear oil, install it to the input shaft.
    Fig 148: Installing 6th Gear Sub-Assy
    G00921977Courtesy of © TOYOTA, LICENSE AGREEMENT TMS1002
  109. INSTALL INPUT SHAFT REAR RADIAL BALL BEARING 
    1. Using SST, steel block and a hammer, install the input shaft rear radial ball bearing to the input shaft.

      SST 09608-04031

      Fig 149: Installing Input Shaft Rear Radial Ball Bearing
      G00921978Courtesy of © TOYOTA, LICENSE AGREEMENT TMS1002
    2. Select a snap ring that will minimum axial play.
      1. Clearance: 0.1 mm (0.004 in.) or less 
      Fig 150: Snap Ring Thickness Specifications
      G00921979Courtesy of © TOYOTA, LICENSE AGREEMENT TMS1002

      Snap ring thickness: 

      Fig 151: Installing Snap Ring To Input Shaft
      G00921980Courtesy of © TOYOTA, LICENSE AGREEMENT TMS1002
    3. Using a brass bar and hammer, install the snap ring to the input shaft.
  110. INSTALL OUTPUT SHAFT REAR BEARING 
    1. Using SST, install output shaft rear bearing to the output shaft.

      SST 09950-30012 (09951-03010, 09953-03010, 09954-03010, 09955-03011, 09956-03080)

      Fig 152: Installing Output Shaft Rear Bearing
      G00921981Courtesy of © TOYOTA, LICENSE AGREEMENT TMS1002
    2. Select a snap ring that will minimum axial play.
      1. Clearance: 0.1 mm (0.004 in.) or less 
      Fig 153: Snap Ring Thickness Specifications (1 Of 2)
      G00921982Courtesy of © TOYOTA, LICENSE AGREEMENT TMS1002

      Snap ring thickness: 

      Fig 154: Snap Ring Thickness Specifications (2 Of 2)
      G00921984Courtesy of © TOYOTA, LICENSE AGREEMENT TMS1002
    3. Using a brass bar and hammer, install the snap ring to the output shaft.
      Fig 155: Installing Snap Ring To Output Shaft
      G00921983Courtesy of © TOYOTA, LICENSE AGREEMENT TMS1002
  111. INSPECT 5TH GEAR RADIAL CLEARANCE 
    1. Using a dial indicator, measure the 5th gear radial clearance.
      1. Standard clearance:0.015-0.056 mm (0.0006-0.0022 in.) 

    If the clearance is out of specification, replace the 6th gear needle roller bearing.

    Fig 156: Measuring 5th Gear Radial Clearance
    G00921985Courtesy of © TOYOTA, LICENSE AGREEMENT TMS1002
  112. INSPECT 5TH GEAR RADIAL CLEARANCE 
    1. Using a dial indicator, measure the 5th gear radial clearance.
      1. Standard clearance:0.009-0.050 mm (0.0004-0.0020 in.) 

    If the clearance is out of specification, replace the 6th gear needle roller bearing.

    Fig 157: Measuring 6th Gear Radial Clearance
    G00921986Courtesy of © TOYOTA, LICENSE AGREEMENT TMS1002
  113. INSPECT 5TH GEAR THRUST CLEARANCE 
    1. Using a dial indicator, measure the 5th gear thrust clearance.
      1. Standard clearance:0.10-0.62 mm (0.0039-0.0244 in.) 
    Fig 158: Measuring 5th Gear Thrust Clearance
    G00921987Courtesy of © TOYOTA, LICENSE AGREEMENT TMS1002
  114. INSPECT 6TH GEAR THRUST CLEARANCE 
    1. Using a feeler gauge, measure the 6th gear thrust clearance.
      1. Standard clearance:0.10 - 0.60 mm (0.0039 - 0.0236 in.) 
    Fig 159: Measuring 6th Gear Thrust Clearance
    G00921988Courtesy of © TOYOTA, LICENSE AGREEMENT TMS1002
  115. INSTALL MANUAL TRANSMISSION CASE COVER SUB-ASSY 
    1. Apply FIPG to the manual transmission case cover sub-assy.
      1. FIPG: Parts No.08826-00090, THREE BOND 1281 or equivalent 
      NOTE: Parts must be assembled within 10 minutes of application. Other wise, the pack the packing (FIPG) material must be remove and reapplied.
      Fig 160: Applying FIPG To Manual Transmission Case Cover Sub-Assy
      G00921989Courtesy of © TOYOTA, LICENSE AGREEMENT TMS1002
    2. Install the manual transmission case cover sub-assy with 9 bolts to the manual transmission case.
      1. Torque: 18.1 N.m (185 kgf.cm, 13 ft.lbf) 
    Fig 161: Installing Manual Transmission Case Cover Sub-Assy
    G00921990Courtesy of © TOYOTA, LICENSE AGREEMENT TMS1002
  116. INSTALL DRAIN (MTM) PLUG SUB-ASSY 
    1. Install the drain (MTM) plug sub-assy with a new gasket to the manual transmission case.
      1. Torque: 39.2 N.m (400 kgf.cm, 29 ft.lbf) 
    Fig 162: Installing Drain Plug Sub-Assy
    G00921991Courtesy of © TOYOTA, LICENSE AGREEMENT TMS1002
  117. INSTALL MANUAL TRANSMISSION FILLER PLUG 
    1. Install the manual transmission filler plug with a new gasket to the manual transmission case cover.
      1. Torque: 39.2 N.m (400 kgf.cm, 29 ft.lbf) 
    Fig 163: Installing Manual Transmission Filler Plug
    G00921992Courtesy of © TOYOTA, LICENSE AGREEMENT TMS1002
  118. INSTALL SELECTING BELL CRANK ASSY 
    1. Install the selecting bellcrank assy with 2 bolts to the manual transmission case.
      1. Torque: 24.5 N.m (250 kgf.cm, 18 ft.lbf) 
    Fig 164: Installing Selecting Bell Crank Assy
    G00921993Courtesy of © TOYOTA, LICENSE AGREEMENT TMS1002
  119. INSTALL FLOOR SHIFT CONTROL LEVER HOUSING SUPPORT BRACKET 
    1. Install the floor shift control lever housing support bracket with 3 bolts to the transaxle case.
      1. Torque: 11.3 N.m (115 kgf.cm, 8 ft.lbf) 
    Fig 165: Installing Floor Shift Control Lever Housing Support Bracket
    G00921994Courtesy of © TOYOTA, LICENSE AGREEMENT TMS1002
  120. INSTALL CLUTCH RELEASE FORK BOOT 
    1. Install clutch release fork boot to the transaxle case.
    Fig 166: Installing Clutch Release Fork Boot
    G00921995Courtesy of © TOYOTA, LICENSE AGREEMENT TMS1002
  121. INSTALL RELEASE FORK SUPPORT 
    1. Install the release fork support to the transaxle case.
      1. Torque: 36.8 N.m (375 kgf.cm, 27 ft.lbf) 
    2. Coat the release fork support with release hub grease.
      1. Release hub grease: Part No. 08887-01806, RELEASE HUB GREASE or equivalent 
    Fig 167: Installing Release Fork Support
    G00921996Courtesy of © TOYOTA, LICENSE AGREEMENT TMS1002
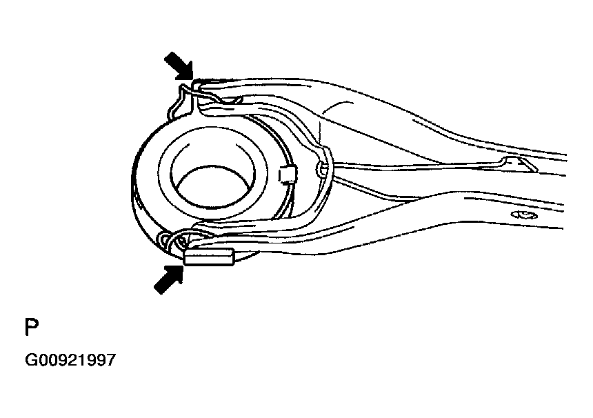
  122. INSTALL CLUTCH RELEASE BEARING ASSY 
    1. Coat the clutch release bearing assy with release hub grease, install it to the clutch release fork sub-assy.
      1. Release hub grease: Part No. 08887-01806, RELEASE HUB GREASE or equivalent 
      Fig 168: Installing Clutch Release Bearing Assy
      G00921997Courtesy of © TOYOTA, LICENSE AGREEMENT TMS1002
  123. INSTALL CLUTCH RELEASE FORK SUB-ASSY 
    1. Apply clutch spline grease to the input shaft spline.
      1. Clutch spline grease: Part No. 08887-01806, CLUTCH SPLINE GREASE or equivalent 
    2. Install the clutch release fork sub-assy to the input shaft.
    Fig 169: Installing Clutch Release Fork Sub-Assy
    G00921998Courtesy of © TOYOTA, LICENSE AGREEMENT TMS1002
  124. INSTALL SPEEDOMETER DRIVEN HOLE COVER SUB-ASSY 
    1. Install a new O-ring to the speedometer driven hole cover sub-assy.
    2. Install the speedometer driven hole cover sub-assy with bolt to the transaxle case.
      1. Torque: 11.3 N.m (115 kgf.cm, 8 ft.lbf)