LEMON Manuals: Even more car manuals for everyone: 1960-2025
Home >> Toyota >> 2004 >> Matrix Base, FWD, Standard >> Repair and Diagnosis >> External Pages >> Different car >> Section 501 (Engine Cooling System) >> Radiator >> Reassembly
April 5, 2026: LEMON Manuals is launched! Read the announcement.

Section 501 (Engine Cooling System): Radiator: Reassembly

WARNING: This page is about a different car, the 2004 Toyota RAV4. However, it is still accessible from the selected car via links, so may be relevant.
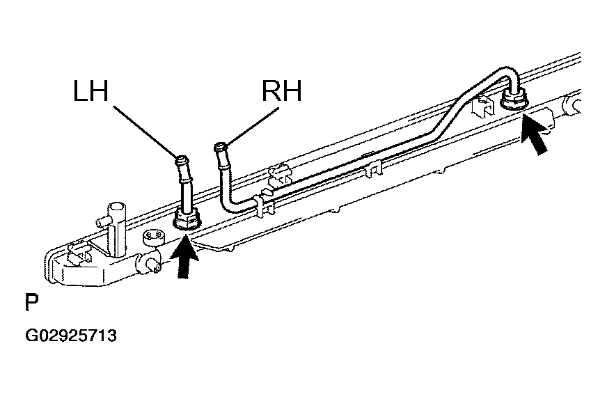
  1. A/T: INSTALL OIL COOLER PIPES TO LOWER TANK 
    1. Install 2 new O-rings to the oil cooler.
    2. Install the 2 nuts.

      Torque: 12 N.m (122 kgf.cm, 9 ft.lbf) 

    3. Install the LH cooler pipe in the direction indicated in Fig 1.

      Torque: 14.7 N.m (150 kgf.cm, 11 ft.lbf) 

    4. Install the RH cooler pipe.

      Torque: 14.7 N.m (150 kgf.cm, 11 ft.lbf) 

      Fig 1: Installing Oil Cooler Pipes To Lower Tank
      G02925713Courtesy of © TOYOTA, LICENSE AGREEMENT TMS1002
  2. INSPECT LOCK PLATE FOR DAMAGE 

    HINT:

    • If the sides of the lock plate groove are deformed, reassembly of the tank will be impossible. Therefore, first correct any deformation with pliers or similar object.
    • Water leakage will result if the bottom of the lock plate groove is damaged or dented. Repair or replace if necessary.
      Fig 2: Inspecting Lock Plate For Damage
      G02925714Courtesy of © TOYOTA, LICENSE AGREEMENT TMS1002
      NOTE: The radiator can only be recaulked 2 times. After the 2nd time, the radiator core must be replaced.
  3. INSTALL NEW O-RINGS AND TANKS 
    1. After checking that there are no foreign objects in the lock plate groove, install a new O-ring without twisting it.
      Fig 3: Identifying O-Ring Conditions
      G02925715Courtesy of © TOYOTA, LICENSE AGREEMENT TMS1002

      HINT:

      When cleaning the lock plate groove, lightly rub it with sand paper without scratching it.

    2. Install the tank without damaging the O-ring.
    3. Tap the lock plate with a soft-faced hammer so that there is no gap between the lock plate and the tank.
      Fig 4: Correct Way Of Tank Installation
      G02925716Courtesy of © TOYOTA, LICENSE AGREEMENT TMS1002
  4. ASSEMBLE SST 

    SST 09230-01010, 09231-14010

    1. Install the punch assembly to the overhaul handle, inserting it in the hole in part "A" as shown in Fig 5.
    2. While gripping the handle, adjust the stopper bolt so that dimension "B" is as shown in Fig 5.

      Dimension: 8.4 mm (0.331 in) 

      Fig 5: Installing Punch Assembly To Overhaul Handle
      G02925717Courtesy of © TOYOTA, LICENSE AGREEMENT TMS1002
  5. CAULK LOCK PLATE 
    1. Lightly press SST against the lock plate in the order shown in Fig 6. After repeating this a few times, fully caulk the lock plate by gripping the handle until stopped by the stopper plate.

      SST 09230-01010

      Fig 6: Pressing Order Of Lock Plate
      G02925718Courtesy of © TOYOTA, LICENSE AGREEMENT TMS1002

      HINT:

      • Do not tap the areas protruding around the pipes, brackets or tank ribs.
      • Fig 7: Avoiding Tapping Areas Protruding Around Pipes, Brackets Or Tank Ribs
        G02925719Courtesy of © TOYOTA, LICENSE AGREEMENT TMS1002
      • The points shown in Fig 8 and oil cooler near here (A/T) cannot be tapped with the SST. Use pliers or similar objects and be careful not to damage the core plates.
        Fig 8: Avoiding Tapping Points With SST
        G02925720Courtesy of © TOYOTA, LICENSE AGREEMENT TMS1002
    2. Check the lock plate height (H) after completing the caulking.
      Fig 9: Checking Lock Plate Height
      G02925721Courtesy of © TOYOTA, LICENSE AGREEMENT TMS1002

      Plate height (H): 8.45 to 8.85 mm (0.3327 to 0.3484 in.) 

      If not within the specified height, adjust the stopper bolt of the handle again and caulk again.

  6. INSTALL DRAIN PLUG 
    1. Install a new O-ring to the drain plug.
    2. Install the drain plug.
  7. INSPECT FOR WATER LEAKS 
    1. Tighten the drain plug.
    2. Plug the inlet and outlet pipes of the radiator with SST.

      SST 09230-01010

    3. Fig 10: Plugging Inlet & Outlet Pipes Of Radiator With SST
      G02925722Courtesy of © TOYOTA, LICENSE AGREEMENT TMS1002
    4. Using a radiator cap tester, apply pressure to the radiator.

      Test pressure: 177 kPa (1.8 kgf/cm 2  , 26 psi) 

    5. Submerge the radiator in water.
    6. Inspect for leaks.
      Fig 11: Identifying Air Leaks Between Tank And Lock Plate
      G02925723Courtesy of © TOYOTA, LICENSE AGREEMENT TMS1002

      HINT:

      On radiators with resin tanks, there is a clearance between the tank and lock plate where a minute amount of air will remain, giving the appearance of an air leak when the radiator is submerged in water. Therefore, before doing the water leak test, first swish the radiator around in the water until all air bubbles disappear.