LEMON Manuals: Even more car manuals for everyone: 1960-2025
Home >> Cadillac >> 2007 >> Escalade EXT >> Repair and Diagnosis >> External Pages >> Different car >> Section 682 (Battery, Charging System And Starting System - Introduction) >> Component Locator >> Engine Electrical Component Views
April 5, 2026: LEMON Manuals is launched! Read the announcement.

Engine Electrical Component Views

WARNING: This page is about a different car, the 2006 GMC Sierra, 2006 GMC Cab & Chassis Sierra, 2006 Chevrolet Silverado, and 2006 Chevrolet Cab & Chassis Silverado. However, it is still accessible from the selected car via links, so may be relevant.
Fig 1: View Of Left Front Corner Of Engine Compartment
GM1454669Courtesy of GENERAL MOTORS CORP.
Callouts For Fig 1

Callout Component Name
1 Junction Block - Underhood
2 Battery - Left
Fig 2: Left Front Corner of Engine Compartment - 10 Series Except HP2
GM1539373Courtesy of GENERAL MOTORS CORP.
Callouts For Fig 2

Callout Component Name
1 Battery - Left
2 Negative Battery Cable
3 Generator Battery Control Module
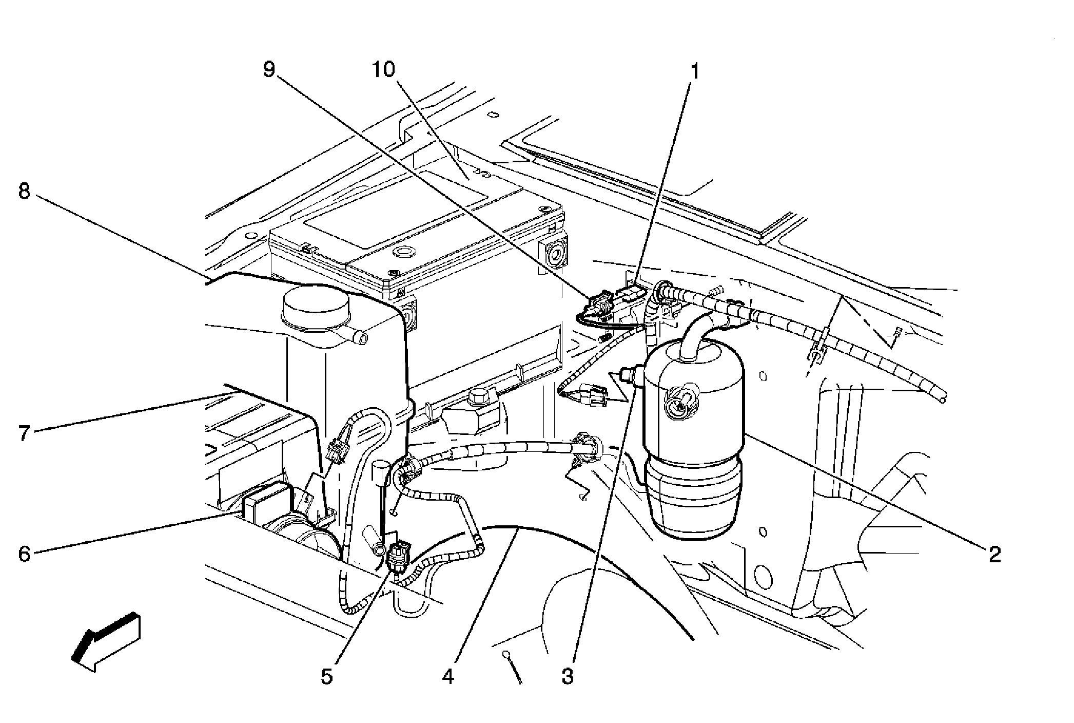
Fig 3: Right Side of Engine Compartment
GM1554342Courtesy of GENERAL MOTORS CORP.
Callouts For Fig 3

Callout Component Name
1 Auxiliary Battery Relay (TP2)
2 A/C Accumulator
3 A/C Low Pressure Switch
4 Inner Wheel Well
5 Coolant Level Switch Connector Diesel and 8.1L
6 Mass Air Flow (MAF) Sensor
7 Air Cleaner Assembly
8 Engine Coolant Recovery Reservoir
9 Auxiliary Battery Relay Electrical Connector (TP2)
10 Battery Right (TP2)
Fig 4: View Of Starter - Gas Except HP2
GM1454470Courtesy of GENERAL MOTORS CORP.
Callouts For Fig 4

Callout Component Name
1 Starter Solenoid
2 Starter
Fig 5: View Of Starter - Diesel
GM1372695Courtesy of GENERAL MOTORS CORP.
Callouts For Fig 5

Callout Component Name
1 Fuel Injector 7
2 Glow Plug 7
3 Fuel Injector 5
4 Glow Plug 5
5 Fuel Injector 3
6 Glow Plug 3
7 Fuel Injector 1
8 Glow Plug 1
9 Camshaft Position (CMP) Sensor
10 Crankshaft Position (CKP) Sensor
11 Starter
12 Starter Solenoid
Fig 6: View Of Generator - 4.3L
GM405657Courtesy of GENERAL MOTORS CORP.
Callouts For Fig 6

Callout Component Name
1 Air Cleaner Assembly
2 Mass Air Flow (MAF)/Intake Air Temperature (IAT) Sensor Assembly
3 Air Inlet Tube
4 Generator
Fig 7: View Of Generator - Gas Except 4.3L or HP2
GM349757Courtesy of GENERAL MOTORS CORP.
Callouts For Fig 7

Callout Component Name
1 Generator
2 Battery Cable Junction Block
3 Battery Cable Bracket
Fig 8: View Of Generators - Diesel
GM741105Courtesy of GENERAL MOTORS CORP.
Callouts For Fig 8

Callout Component Name
1 Generator - Right
2 Engine
3 Generator - Left - K65 or 8X5
Fig 9: Energy Storage Box Component View (HP2)
GM1395899Courtesy of GENERAL MOTORS CORP.
Callouts For Fig 9

Callout Component Name
1 Energy Storage Control Module (ESCM)
2 400A Fuse Holder
3 Energy Storage Box (ESB) Fan
4 Battery Cut Off Switch
5 Voltage Sensor - 1
6 Temperature Sensor - Battery 1
7 C340
8 Battery 1
9 Voltage Sensor - 2
10 Temperature Sensor - Battery 2
11 Battery 2
12 Current Sensor
13 Auxiliary Power Outlet
14 Voltage Sensor - 3
15 Temperature Sensor - Battery 3
16 Battery 3
17 Voltage Sensor - 4
18 Auxiliary Power Outlet Connector
19 C341
20 Service Disconnect Switch
21 G311
22 G310
Fig 10: Battery Cable, 3 - Phase Cable, & Power Steering Pump Harnesses Component View (HP2)
GM1361152Courtesy of GENERAL MOTORS CORP.
Callouts For Fig 10

Callout Component Name
1 3-Phase Cable
2 Power Steering Pump Harness
3 Auxiliary Battery Cable Jumpstart Lead
4 Dash Panel
5 Auxiliary Battery Cable Terminal to Fuse Block - Underhood
6 Battery Cable Terminal to Fuse Block - Underhood
7 Positive Battery Cable
8 Negative Battery Terminal
9 Power Steering Pump Connector C2
10 G100
11 G105
12 Starter/Generator Rotor
13 Starter/Generator Stator
14 Battery Cable Harness
15 C121
16 C122
17 Starter/Generator Control Module
Fig 11: Hood Ajar Switch and Starter/Generator Control Module Coolant Pump (HP2)
GM1673821Courtesy of GENERAL MOTORS CORP.
Callouts For Fig 11

Callout Component Name
1 Starter/Generator Control Module Coolant Pump
2 Hood Ajar Switch
3 Forward Lamp Harness
Fig 12: View Of Left Front of Engine Compartment
GM1454545Courtesy of GENERAL MOTORS CORP.
Callouts For Fig 12

Callout Component Name
1 Hybrid Control Module (HCM)