LEMON Manuals: Even more car manuals for everyone: 1960-2025
Home >> Cadillac >> 2007 >> Escalade EXT >> Repair and Diagnosis >> External Pages >> Different car >> Section 683 (Seat System) >> Component Locator >> Power Seat Systems Component Views
April 5, 2026: LEMON Manuals is launched! Read the announcement.

Power Seat Systems Component Views

WARNING: This page is about a different car, the 2006 GMC Sierra, 2006 GMC Cab & Chassis Sierra, 2006 Chevrolet Silverado, and 2006 Chevrolet Cab & Chassis Silverado. However, it is still accessible from the selected car via links, so may be relevant.
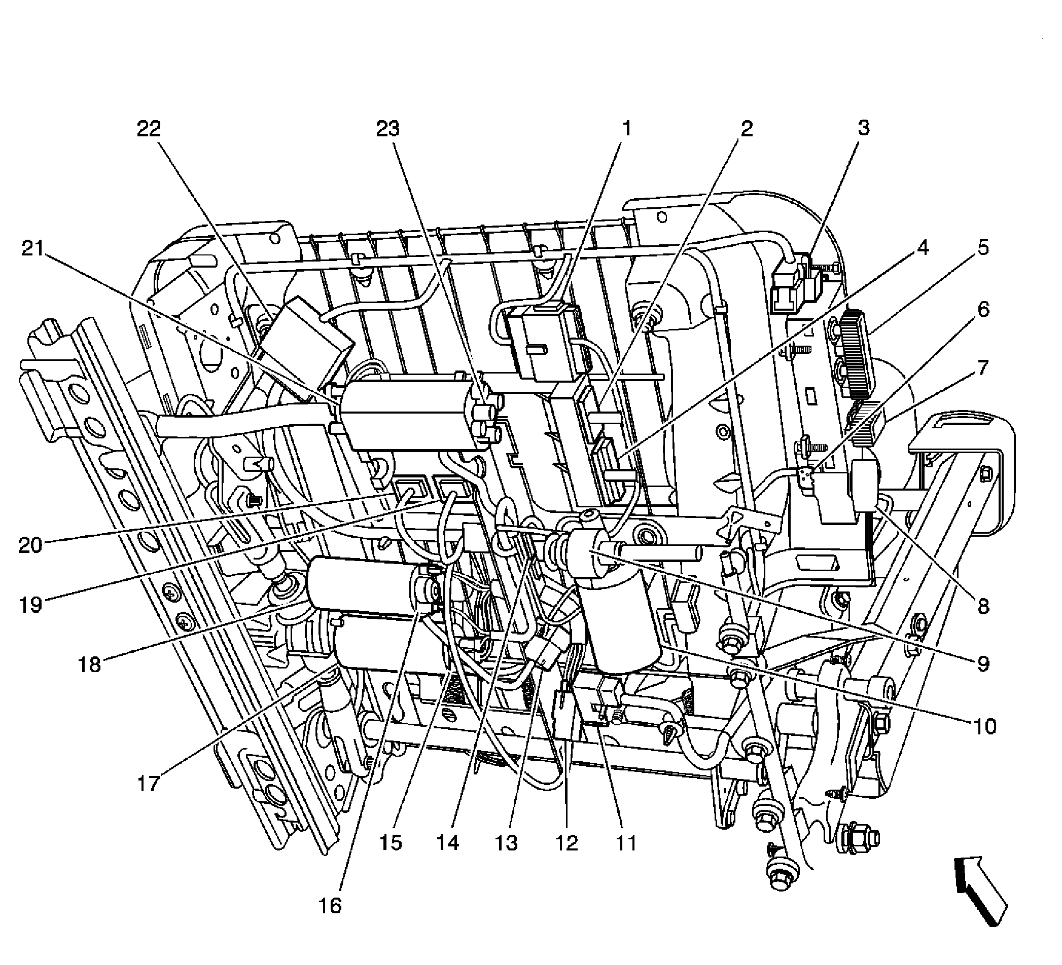
Fig 1: Driver Seat (1 of 2) AG1 w/AN3
GM1557269Courtesy of GENERAL MOTORS CORP.
Callouts For Fig 1

Callout Component Name
1 C321
2 Memory Seat Module - C4
3 Seat Adjuster Switch Connector - Driver
4 Memory Seat Module - C3
5 Seat Adjuster Switch - Driver
6 Seat Bolster/Lumbar Switch Connector - Driver
7 Seat Adjuster Switch - Driver
8 Seat Bolster/Lumbar Switch - Driver
9 Seat Recline Position Sensor - Driver
10 Seat Recliner Motor - Driver
11 C305
12 C323
13 C325
14 C322
15 Seat Rear Vertical Motor Position Sensor - Driver
16 Seat Front Vertical Motor Position Sensor - Driver
17 Seat Rear Vertical Motor - Driver
18 Seat Front Vertical Motor - Driver
19 Memory Seat Module - C2
20 Memory Seat Module - C1
21 Seat Horizontal Motor - Driver
22 C320
23 Seat Horizontal Motor Seat Position Sensor - Driver
Fig 2: Driver Seat (2 of 2) AG1 w/AN3
GM1557277Courtesy of GENERAL MOTORS CORP.
Callouts For Fig 2

Callout Component Name
1 Seat Bolster Motor - Driver
2 Seat Lumbar Motor/Position Sensor - Driver
3 Seat Lumbar Motor - Driver
4 Heated Seat Element - Driver Cushion
5 Seat Bolster Motor/Position Sensor - Driver
6 C324
7 Seat Belt Switch Connector
8 Heated Seat Element - Driver Cushion Connector
Fig 3: Passenger Seat (1 of 2) AG2
GM1557283Courtesy of GENERAL MOTORS CORP.
Callouts For Fig 3

Callout Component Name
1 Seat Horizontal Motor - Passenger
2 Seat Front Vertical Motor - Passenger
3 Seat Rear Vertical Motor - Passenger
4 C388
5 C326
6 C399
7 Seat Recliner Motor - Passenger
8 Seat Bolster/Lumbar Switch - Passenger
9 Seat Adjuster Switch - Passenger
10 Seat Adjuster Switch Connector
Fig 4: Passenger Seat (2 of 2) AG2
GM1557287Courtesy of GENERAL MOTORS CORP.
Callouts For Fig 4

Callout Component Name
1 Seat Bolster Motor - Passenger
2 Seat Lumbar Motor - Passenger
3 Heated Seat Element - Passenger Cushion Connector
4 C329
Fig 5: Driver Door
GM1558107Courtesy of GENERAL MOTORS CORP.
Callouts For Fig 5

Callout Component Name
1 Driver Door
2 Driver Door Module (DDM)
3 Outside Rearview Mirror - Driver
4 Window Motor - Driver
5 Speaker - LF Door
6 Memory/Heated Seat Switch Connector
7 Speaker - LF Tweeter (UQ3)
8 Door Courtesy Lamp - LF
9 Driver Door Panel
10 Memory/Heated Seat Switch
11 Door Latch Assembly - Driver
Fig 6: Passenger Door
GM1555601Courtesy of GENERAL MOTORS CORP.
Callouts For Fig 6

Callout Component Name
1 Passenger Door Module (PDM)
2 Passenger Door
3 Door Latch Assembly - Passenger
4 Heated Seat Switch - Passenger
5 Door Courtesy Lamp - RF
6 Speaker - RF Tweeter (UQ3)
7 Heated Seat Switch Connector
8 Speaker - RF Door
9 Window Motor - Passenger
10 Outside Rearview Mirror - Passenger