LEMON Manuals: Even more car manuals for everyone: 1960-2025
Home >> Infiniti >> 2009 >> M45 Base >> Repair and Diagnosis >> External Pages >> Different car >> Section 130 (Front Final Drive) >> Front Final Drive Assembly >> Disassembly and Assembly >> Assembly >> Drive Pinion Assembly
April 5, 2026: LEMON Manuals is launched! Read the announcement.

Drive Pinion Assembly

WARNING: This page is about a different car, the 2008 Infiniti M45 and 2008 Infiniti M35. However, it is still accessible from the selected car via links, so may be relevant.
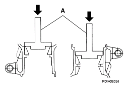
  1. Install pinion front and rear bearing outer races using drifts.

    Tool number A: ST37820000 ( - ) 

    CAUTION:
    • At first, using a hammer, tap bearing outer race until it becomes flat to gear carrier.
    • Do not reuse pinion front and rear bearing outer race.
      Fig 1: Tapping Pinion Front And Rear Bearing Outer Races
      G05225523Courtesy of NISSAN MOTOR CO., U.S.A.
  2. Temporarily install pinion height adjusting washer (1).

    When hypoid gear set has been replaced 

    • Select pinion height adjusting washer. Refer to "PINION GEAR HEIGHT ".

      When hypoid gear set has been reused 

    • Temporarily install the removed pinion height adjusting washer or same thickness washer to drive pinion.
      Fig 2: Identifying Pinion Height Adjusting Washer
      G05225524Courtesy of NISSAN MOTOR CO., U.S.A.
  3. Install selected pinion height adjusting washer (2) to drive pinion. Press pinion rear bearing inner race (1) to it, using drift.

    Tool number A: ST30032000 (J-26010-01) 

    CAUTION:
    • Pay attention to the direction of pinion height adjusting washer. (Assemble as shown in the figure.)
    • Do not reuse pinion rear bearing inner race.
      Fig 3: Pressing Pinion Rear Bearing Inner Race
      G05225525Courtesy of NISSAN MOTOR CO., U.S.A.
  4. Temporarily assemble removed drive pinion adjusting washer and drive pinion bearing adjusting washer or same thickness them to drive pinion.
  5. Apply gear oil to pinion rear bearing, and assemble drive pinion into gear carrier.
  6. Apply gear oil to pinion front bearing, and assemble pinion front bearing inner race to drive pinion assembly.
    CAUTION: Do not reuse pinion front bearing inner race.
    Fig 4: Applying Gear Oil To Pinion Rear Bearing And Assemble Drive Pinion Into Gear Carrier
    G05225526Courtesy of NISSAN MOTOR CO., U.S.A.
  7. Using suitable spacer (A), press the pinion front bearing inner race to drive pinion as far as drive pinion nut can be tightened.
  8. Adjust pinion bearing preload. If necessary, select the appropriate drive pinion adjusting washer and drive pinion bearing adjusting washer. Refer to "PINION BEARING PRELOAD ".
    Fig 5: Pressing Pinion Front Bearing Inner Race To Drive Pinion
    G05225527Courtesy of NISSAN MOTOR CO., U.S.A.
  9. Using the drifts, install front oil seal as shown in figure.

    Tool number A: ST33400001 (J-26082) 

    B: KV38102510 ( - ) 

    CAUTION:
    • Do not reuse oil seal.
    • When installing, do not incline oil seal.
    • Apply multi-purpose grease onto oil seal lips, and gear oil onto the circumference of oil seal.
      Fig 6: Tapping Oil Seal
      G05225528Courtesy of NISSAN MOTOR CO., U.S.A.
  10. Install companion flange (1).
    NOTE: When reusing drive pinion, align the matching mark (B) of drive pinion with the matching mark (A) of companion flange, and then install companion flange (1).
    Fig 7: Aligning Matching Mark Of Drive Pinion With Matching Mark Of Companion Flange
    G05225506Courtesy of NISSAN MOTOR CO., U.S.A.
  11. Apply anti-corrosion oil to the thread and seat of new drive pinion lock nut, and temporarily tighten drive pinion lock nut to drive pinion.
    CAUTION: Do not reuse drive pinion lock nut.
  12. Tighten to drive pinion lock nut, while adjust pinion bearing preload torque.

    Tool number A: ST3127S000 (J-25765-A) 

    Drive pinion lock nut tightening torque: 

    127.4 - 245.0 N.m (13.0 - 25.0 kg-m, 94 - 181 ft-lb) 

    Pinion bearing preload: 

    0.78 - 1.57 N.m (0.08 - 0.16 kg-m, 7 - 13 in-lb) 

    CAUTION:
    • Adjust to the lower limit of the drive pinion lock nut tightening torque first.
    • After adjustment, rotate drive pinion back and forth 2 to 3 times to check for unusual noise, rotation malfunction, and other malfunctions.
      Fig 8: Tightening Drive Pinion Lock Nut
      G05225522Courtesy of NISSAN MOTOR CO., U.S.A.
  13. Install differential case assembly. Refer to "DIFFERENTIAL ASSEMBLY ".
    CAUTION: Do not install carrier cover yet.
  14. Check and adjust drive gear runout, tooth contact, drive gear to drive pinion backlash, and companion flange runout. Refer to "DRIVE GEAR RUNOUT ", "TOOTH CONTACT ", "BACKLASH ", "COMPANION FLANGE RUNOUT ".

    Recheck above items. Readjust the above description, if necessary.

  15. Check total preload torque. Refer to "TOTAL PRELOAD TORQUE ".
  16. Install carrier cover. Refer to "DIFFERENTIAL ASSEMBLY ".