LEMON Manuals: Even more car manuals for everyone: 1960-2025
Home >> Infiniti >> 2010 >> G37 Base, 2D Convertible >> Repair and Diagnosis >> External Pages >> Different car >> Section 88 (Audio Visual System & Navigation System) >> BOSE Audio With Navigation >> Component Diagnosis >> DTC U1243: Display Unit >> Diagnosis Procedure
April 5, 2026: LEMON Manuals is launched! Read the announcement.

Diagnosis Procedure

WARNING: This page is about a different car, the 2010 Nissan Armada. However, it is still accessible from the selected car via links, so may be relevant.

Regarding Wiring Diagram information, refer to "WIRING DIAGRAM ".

  1. CHECK DISPLAY UNIT POWER SUPPLY AND GROUND CIRCUIT

    Check display unit power supply and ground circuit. Refer to "DISPLAY UNIT : DIAGNOSIS PROCEDURE ".

    Is inspection result OK? 

    YES: GO TO  2.

    NO: Repair malfunctioning parts.

  2. CHECK CONTINUITY COMMUNICATION CIRCUIT
    1. Turn ignition switch OFF.
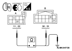
    2. Disconnect display unit connector M168 and AV control unit connector M162.
    3. Check continuity between display unit harness connector M168 (A) terminals 11, 22 and AV control unit harness connector M162 (B) terminals 30, 31.
      CONTINUITY CHART

      A B Continuity
      Connector Terminal Connector Terminal
      M168 11 M162 30 Yes
      22 31
      Fig 1: Checking Continuity Between Display Unit Harness Connector M168 Terminals 11 And AV Control Unit Harness Connector M162 Terminals 30
      G05383758Courtesy of NISSAN MOTOR CO., U.S.A.
    4. Check continuity between display unit harness connector M168 (A) terminals 11, 22 and ground.
      CONTINUITY CHART

      A - Continuity
      Connector Terminal
      M168 11 Ground No
      22

      Are continuity results as specified? 

      YES: GO TO  3.

      NO: Repair harness or connector.

  3. CHECK COMMUNICATION SIGNAL
    1. Connect display unit connector M168 and AV control unit connector M162.
    2. Turn ignition switch ON.
    3. Check signal between display unit harness connector M168 terminal 11 and ground.
      SIGNAL REFERENCE

      Connector Terminals Reference Signal
      (+) (-)
      M168 11 Ground
      G05219856Courtesy of NISSAN MOTOR CO., U.S.A.
      Fig 2: Checking Signal Between Display Unit Harness Connector M168 Terminal 11 And Ground
      G05383760Courtesy of NISSAN MOTOR CO., U.S.A.

      Are voltage readings as specified? 

      YES: GO TO  4.

      NO: Replace AV control unit. Refer to "REMOVAL AND INSTALLATION ".

  4. CHECK COMMUNICATION SIGNAL

    Check signal between display unit harness connector M168 terminal 22 and ground.

    SIGNAL REFERENCE

    Connector Terminals Reference Signal
    (+) (-)
    M168 22 Ground
    G05219856Courtesy of NISSAN MOTOR CO., U.S.A.
    Fig 3: Checking Signal Between Display Unit Harness Connector M168 Terminal 22 And Ground
    G05383762Courtesy of NISSAN MOTOR CO., U.S.A.

    Are voltage readings as specified? 

    YES: Inspection End.

    NO: Replace display unit. Refer to "REMOVAL AND INSTALLATION ".