LEMON Manuals: Even more car manuals for everyone: 1960-2025
Home >> Lexus >> 2007 >> RX 400h AWD >> Repair and Diagnosis >> External Pages >> Different car >> Section 318 (Audio System & Visual System) >> Audio And Visual System >> Stereo Component Amplifier Communication Error >> Inspection Procedure
April 5, 2026: LEMON Manuals is launched! Read the announcement.

Inspection Procedure

WARNING: This page is about a different car, the 2008 Toyota RAV4. However, it is still accessible from the selected car via links, so may be relevant.
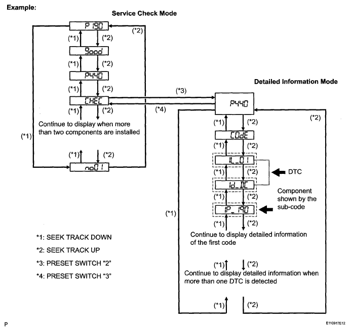
  1. IDENTIFY THE COMPONENT SHOWN BY THE SUB-CODE 
    1. Enter the diagnostic mode.
      Fig 1: Diagnostic Mode For Stereo Component Amplifier Communication Error
      G05586329Courtesy of © TOYOTA, LICENSE AGREEMENT TMS1002
    2. Press the preset switch "2" to change to "Detailed Information Mode".
    3. Identify the component shown by the sub-code.

      HINT:

      • "190 (radio receiver)" is the component shown by the sub-code in the example shown in the illustration.
      • For details of the DTC display, refer to the "DTC CHECK/CLEAR " .
  2. CHECK POWER SOURCE CIRCUIT OF COMPONENT SHOWN BY SUB-CODE 
    1. Inspect the power source circuit of the component shown by the sub-code.

      If the power source circuit is operating normally, proceed to the next step.

      Component table: 

      COMPONENT CHART

      Component Proceed to
      "Bluetooth" handsfree module (19D) Radio receiver power source circuit (See RADIO RECEIVER POWER SOURCE CIRCUIT  )
      Radio receiver (190) Radio receiver power source circuit (See RADIO RECEIVER POWER SOURCE CIRCUIT  )
      Television display assembly (1B0) Television display assembly power source circuit (See TELEVISION DISPLAY POWER SOURCE CIRCUIT  )
  3. INSPECT RADIO RECEIVER ASSEMBLY 
    1. Disconnect the E62 receiver and E64* receiver connectors.
    2. Measure the resistance of the receiver.

      Standard resistance 

      TESTER CONNECTION SPECIFIED CONDITION CHART

      Tester Connection Specified Condition
      E62-5 (ATX+) - E62-15 (ATX-) 60 to 80 Ω
      E64-9 (TXM+) - E64-10 (TXM-)(1) 60 to 80 Ω
      (1) with Rear seat entertainment system
    3. Fig 2: Identifying E62 And E64 Receiver Connectors
      G05586330Courtesy of © TOYOTA, LICENSE AGREEMENT TMS1002

    NG: REPLACE RADIO RECEIVER ASSEMBLY 

    OK: Go to Next Step 

  4. CHECK HARNESS AND CONNECTOR (STEREO COMPONENT AMPLIFIER - COMPONENT SHOWN BY SUB-CODE) 

    HINT:

    • Start the check from the circuit that is near the component shown by the sub-code first.
    • For details of the connectors, refer to the "TERMINALS OF ECU " .
    1. Referring to the AVC-LAN wiring diagram below, check the AVC-LAN circuit between the radio receiver and the component shown by the sub-code.
      1. Check for an open or short in the AVC-LAN circuit between the radio receiver and the component shown by the sub-code.

        OK: There is no open or short circuit. 

        Fig 3: Identifying AVC-LAN Wiring Diagram
        G05586331Courtesy of © TOYOTA, LICENSE AGREEMENT TMS1002

    NG: REPAIR OR REPLACE HARNESS OR CONNECTOR 

    OK: Go to Next Step 

  5. REPLACE COMPONENT SHOWN BY SUB-CODE 
    1. Replace the component shown by the sub-code with a normal one and check if the same problem occurs again.

      OK: Same problem does not occur. 

    NG: REPLACE STEREO COMPONENT AMPLIFIER ASSEMBLY 

    OK: END